LA400 Puestas a tierra

  • Contenido
El sistema de puesta a tierra (SPT) tiene por finalidad proteger la vida de las personas, evitar daños en los equipos por sobretensiones, mejorar la efectividad de las protecciones eléctricas y la compatibilidad electromagnética, al proporcionar una adecuada conducción de la corriente de falla a tierra .

Además sirve de referencia común al sistema eléctrico, transmite señales de RF en onda media y larga, presenta una conexión de baja resistencia con la tierra y con puntos de referencia de los equipos.

Por lo tanto lo fundamental es asegurar valores bajos y tolerables de las tensiones de paso, de contacto y transferidas que garanticen la seguridad de las personas. Además que valores de bajo de resistencia de puesta a tierra ayudan en caso de falla a tener valores de tensiones descritos dentro de los valores de seguridad.

De acuerdo a lo anterior, en una instalación de una puesta a tierra es deseable un valor bajo de la resistencia que se tenga con respecto a tierra ; independiente del número de electrodos y elementos que haya necesidad de utilizar para lograr éste propósito. Por ello, siempre que se instala un sistema de puesta a tierra (SPT) , se debe medir el valor de la resistencia a tierra y confrontarlo con los límites establecidos, para garantizar una buena puesta a tierra del sistema eléctrico.

En las redes de distribución, el sistema de tierra se compone de las puestas a tierra instaladas en los pararrayos , transformadores, condensadores, reguladores, equipos de maniobra , neutros y elementos metálicos, cuyos electrodos de puesta a tierra están generalmente constituidos por varillas enterradas.

Con la interconexión de las puestas a tierra (a través del neutro) se logra disminuir el valor de la resistencia entre neutro y tierra , que asegura la operación correcta de las protecciones y limita la tensión a tierra que puede aparecer entre las fases no falladas cuando ocurre una falla a tierra .

El sistema de distribución en M.T., es sólidamente puesto a tierra en las subestaciones y en B.T. es efectivamente puesto a tierra a lo largo de su recorrido.

Se utiliza como electrodo para puesta a tierra una varilla de cobre o cobrizada de 5/8" x 2,44 m, con su respectivo conector y como medio de conexión hasta tierra se utiliza alambre de cobre o cobrizado (copperweld) No.4 AWG.

La ventaja de utilizar las varillas como electrodos de tierra es su facilidad de instalación , no necesita excavación y su economía con respecto a otras soluciones.

Instalación de puestas a tierra

Para la instalación de las puestas a tierra de los circuitos de distribución en M.T., B.T. y equipos conectados del sistema , se deben tener en cuenta los siguientes casos:

- En los DPS - Dispositivos de Protección contra Sobretensión Transitorias (antes llamados pararrayos ), los puntos de tierra de cada uno de ellos, se deben conectar entre sí mediante alambre de cobre o cobrizado (copperweld) No.4 AWG, y se lleva a tierra evitando dobleces agudos en el alambre , hasta la varilla previamente enterrada utilizando para la unión a la varilla un conector apropiado.

- En los transformadores de distribución se deben conectar entre sí el neutro y la carcasa, mediante un fleje de cobre (de fábrica) o alambre de cobre o cobrizado (copperweld) No. 4 AWG y desde allí hasta la varilla de puesta a tierra . Se realiza una sola bajante para puesta a tierra de los DPS ( pararrayos ) y del transformador.

- En algunos equipos instalados a lo largo del circuito de MT, tales como Reconectadores, los fabricantes solicitan la instalación de puesta a tierra independientes para los DPS y para el equipo y su control. También solicitan valores menores de resistencia de puesta a tierra y calibres más gruesos de conductores de puesta a tierra.

- El neutro de la red de B.T. se debe poner a tierra cada tres postes, igualmente los puntos finales de los neutros del circuito.

- Para disminuir el vandalismo se usan postes de concreto con la puesta a tierra inmersa en el concreto. Se deben empalmar los cables en las cajas de paso (referencia 5800) dispuesta con los conectores adecuados, a fin de prolongar el conductor al neutro y a la varilla de puesta a tierra. Ver norma LA408 .

- Como alternativa para el conductor del electrodo de puesta a tierra se usa el fleje de acero conectado al neutro o punto de tierra de equipos y en el otro extremo a la varilla de tierra

- En los postes de concreto que tengan tubo PVC incorporado en su interior para la puesta a tierra se recomienda el uso del alambre cobrizado, ver Norma LA401 . Cuando los postes no tengan tubo PVC en su interior el conductor deberá protegerse con un tubo metálico y galvanizado de 1/2" x 3,00 m . Ver Norma LA402 .

- En las transiciones de los cables subterráneos de M.T., los alambres de la pantalla metálica del blindaje del conductor en los terminales deben conectarse a tierra a través de la puesta a tierra de los pararrayos , ver norma LA117 , LA118 LA119 , LA120 , LA121 , LA218 , LA219 , LA220 y LA221 . La pantalla del terminal del cable de M.T solo debe aterrizarse en uno de los extremos del cable , con el fin de evitar circulación de corriente a través de la pantalla y disminuir la capacidad del cable.

- En los bancos de condensadores, la puesta a tierra se debe hacer mediante cable de cobre No.2/0 AWG, conectado a una o varias varillas de 5/8" x 2,44 m interconectadas previamente enterradas, hasta alcanzar el valor de 5 Ohmios. En casos con resistividades altas del terreno se deben realizar tratamiento para bajar su resistividad.

Medida de resistencia de puesta a tierra

La medida de la resistencia de puesta a tierra se efectúa con un medidor de tierras (conocido como telurometro), utilizando preferiblemente el método de los tres puntos o "Caída de Tensión ", que se describe a continuación con la ayuda de la figura 1 y el formato de consignación de resultados presentado al final.

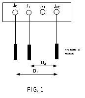
Figura 1. Funcionamiento del Método de Caída de tensión


Los bornes de los extremos marcados como C1 y C2 son los terminales de corriente y los bornes centrales marcados como centrales P1 y P2 son los terminales de tensión.

Se unen los bornes C2 y P2 se conectan a la varilla de tierra (o malla de tierra) cuya resistencia se requiere medir. La varilla más lejana conectada al borne C1, actúa como electrodo de corriente, la otra varilla conectada al borne P1 (localizada entre la varilla de corriente y la puesta a tierra a medir) actúa como electrodo de tensión.

Se utilizan para medir la resistencia de tierra , dos varillas como electrodos auxiliares C1 y P1, que se clavan en el terreno, alineados con el punto de puesta a tierra a medir.

Para el equipo mostrado los bornes de los extremos marcados como J C y J XC son los terminales de corriente y los bornes centrales marcados como J T y J XT son los terminales de tensión.

Primero se unen los bornes J XC y J XT y se conectan a la varilla de tierra (o malla de tierra ) cuya resistencia se requiere medir. La varilla más lejana conectada al borne J C actúa como electrodo de corriente, la otra varilla conectada al borne J T actúa como electrodo de tensión .

De acuerdo a la figura 1 de la norma LA 400 , midiendo desde la varilla de puesta tierra (o malla de tierra ) D 1 , es la distancia hasta la varilla de corriente y D 2 es la distancia hasta la varilla de tensión .

Al circular la corriente generada por el Medidor de tierras, se producen gradientes de potencial alrededor de los electrodos, pero existen zonas entre ellos donde el potencial es constante. Se ha determinado que a una distancia del 62% de D,,1,,, no se producen perturbaciones y allí debe instalarse el electrodo de tensión .

Se realizan tres mediciones con las siguientes distancias:

1- D 1 = 25 m D 2 = 15 m
2- D 1 = 30 m D 2 = 18 m
3- D 1 = 36 m D 2 = 22 m

Si los valores no difieren en ± 5 % del valor promedio (Obtenido de la suma de las tres mediciones y dividiendo por 3) debe considerarse que este valor promedio es el valor verdadero.

Si el error es mayor, existe superposición de los gradientes de tensión y debe aumentarse D 1 y D 2 manteniendo su relación D 2 = 0,62D 1 y repitiendo el procedimiento hasta cumplir la condición que el error sea <5%.

Todas las medidas deben realizarse sin tensión , ni circulación de corriente, es decir, la varilla de tierra debe estar desconectada de bajantes de DPS, neutros, tierras de equipos en funcionamiento, igual sucede si se miden mallas de tierra .

De acuerdo con el RETIE en algunas instalaciones se deben cumplir los siguientes valores:

Para subestaciones de media tensión la resistencia debe ser <= 10 ohmios.
La resistencia para estructuras con cable de guarda <= 20 ohmios
Punto neutro de acometida en baja tensión <= 25 ohmios.
La resistencia de cualquier electrodo de puesta a tierra debe ser <= 25 ohmios. (Norma ICONTEC 2050 Sección 250-84) y RETIE.

Medida de resistividad del terreno

Es de gran importancia conocer las características del terreno donde se va a instalar una varilla de tierra o malla de tierra para predecir el número de varillas que se deben instalar o la configuración de los electrodos y la necesidad o no, de realizar tratamientos al suelo. La resistividad varia con el tipo de suelo, la temperatura, la humedad, la homogeneidad y acidez del terreno.

El método más empleado para medir la resistividad del terreno (Ohmios*m) es el método de Wenner (o de los cuatro puntos). Se instalan cuatro varillas alineadas e igualmente espaciadas a una distancia (a). Los bornes de los extremos del aparato marcados como C 1 y C 2 son los terminales de corriente y los bornes centrales P 1 y P 2 son los terminales de tensión , que se instalan a las varillas como se muestra en la fig. 2 y en el formato de consignación de resultados.

Figura 2. Funcionamiento del Método de Wenner


Los electrodos se colocan en línea recta a igual distancia (D) y a una misma profundidad (b). Los resultados dependen de la distancia entre electrodos y del contacto con la tierra.

El método consiste en inyectar corriente que pase por los electrodos C1 y C2. Entre los electrodos de prueba P1 y P2 se mide la tensión resultante del paso de la corriente. Con éstos datos se calcula la resistencia y el valor de resistividad del terreno a una profundidad (b), y a una distancia entre electrodos (D). Se aplican las metodologías adecuados para obtener la resisitividad promedio.

El equipo con el que se realiza la medición de la resistividad se llama Telurómetro y de acuerdo a la marca y la identificación de sus terminales, difiere en algunos casos de los mostrados como C1, C2, P1, P2.

Para obtener el valor de la resistividad se deben realizar varias medidas con diferentes distancias D. Se sugiere hacer medidas con D=1m, D=2m, D=5m, D=10m, D=20m y D=30m.

Las varillas de prueba deben ser enterradas a una profundidad no mayor de 10% de la distancia entre varillas y firmemente enterradas. Una vez realizadas todas las conexiones, se lee la resistencia (R) en el Telurómetro y la resistividad se calcula mediante la expresión p=2 Pi DR.

Los resultados deben consignarse en la tabla anexa con las observaciones y condiciones del medio ambiente. Además se debe realizar una curva de resistividad contra distancia para determinar el valor promedio y descartar valores por errores de mediciones.

Mejoramiento de la resistencia de puesta a tierra

El mejoramiento de las mallas o puesta a tierra se efectúa de dos formas:

- Colocando más electrodos.
- Realizando tratamientos al suelo.

Cuando la resistividad del terreno sea menor de 63 Ohmios*m solo se necesita enterrar una varilla como electrodo de tierra para cumplir con los requisitos de resistencia a tierra .

Para terrenos con resistividades hasta de 110 Ohmios m se debe colocar dos varillas como electrodos de tierra y hasta 150 Ohmios m se debe colocar tres varillas, para resistividades mayores de 150 Ohmios*m se debe aplicar los métodos presentados a continuación hasta lograr valores adecuados de resistencia en el electrodo de tierra (menores de 25 Ohmios).

- Colocar o reforzar con más electrodos.

En la generalidad de los casos se utiliza como electrodo de puesta a tierra una varilla, pero cuando el valor medido de resistencia es alto, se pueden colocar dos a tres varillas unidas entre sí y separadas a una distancia de al menos dos longitudes de la varilla. En casos especiales para lograr bajar la resistencia se pueden utilizar varillas más largas tratando de conseguir a mayor profundidad, menor resistividad o alcanzar el nivel freático del terreno.

- Realizar tratamiento del suelo.

El tratamiento del suelo se efectúa realizando una excavación para instalar la varilla y rellenando el hueco con tierra negra, carbón, sales y compuestos con menor resistividad (concreto, bentonita y gel).

El tratamiento del suelo se basa en el uso de materiales de relleno con menor resistividad, tales como tierra negra (50 Ohmiosxm), concreto (40 Ohmiosxm), bentonita (2.5 Ohmiosxm) y gel (<1 Ohmiosxm).
La selección de una de las alternativas dependerá de la resistividad del terreno y del valor que se quiere alcanzar, ya que el tratamiento del terreno (a excepción del concreto, la bentonita y el gel) se deteriora con el transcurso del tiempo, si no se toman las precauciones para que permanezca dicho tratamiento.


DEPENDENCIA: _____________________________________________ FECHA: _____________________

MEDIDA DE LA RESISTENCIA DE PUESTA A TIERRA
MÉTODO DE LA CAÍDA DE TENSIÓN

Lugar de medición: _________________ Punto significativo: _______
Dirección: ____________________________________________________
Estado superficial del terreno Húmedo ___ Seco ____
Equipo utilizado: _______________________________________________

FIGURA 1


RESULTADO DE LAS MEDICIONES
D 1 (m) D 2 (m) R(Ohmios) D 1 (m) D 2 (m) R(Ohmios) OBSERVACIONES
25 15 36 22
30 18 42 25
36 22 50 30
PROMEDIO

*SEGUNDA MEDICIÓN, SI LA PRIMERA DIFIERE EL 5%> DEL PROMEDIO.


MEDIDA DE RESISTIVIDAD DEL TERRENO
MÉTODO DE LOS 4 PUNTOS

Lugar de medición: _____________________ Punto significativo: _______
Dirección: ____________________________________________________
Estado superficial del terreno Húmedo ____ Seco ____
Equipo utilizado: _______________________________________________
FIGURA 2

D(m) R(Ohmios) Rho=2 Pi DR (Ohmios x m) OBSERVACIONES
2
5
10
20
36

DATOS ADICIONALES
Revisión #

3

Fecha de entrada en vigencia

HERRAMIENTAS
RELACIONADAS

Actividad de los usuarios

Estado del comentario