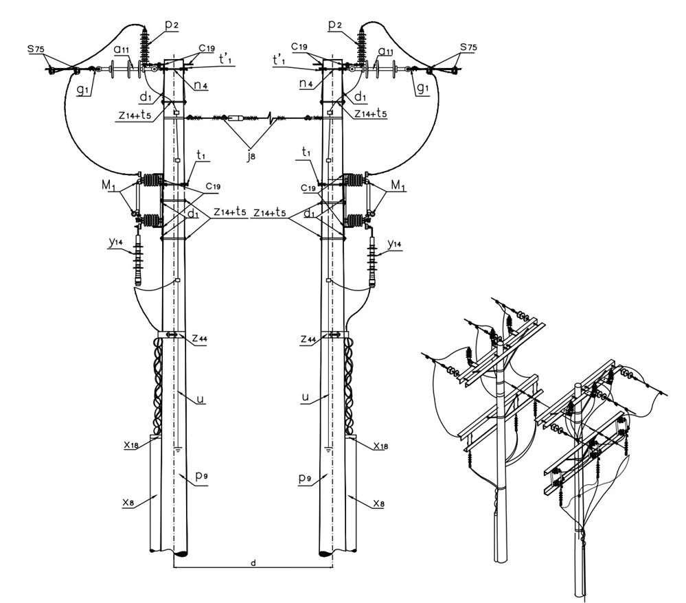
LA119 Circuito urbano 34,5 kV entrada y salida subterránea para una subestación de instalación interior
- Contenido

LISTA DE MATERIALES
| SÍMB. | CANT. | CÓDIGO | ESP. TECNICA | DESCRIPCIÓN |
| a 11 | 6 | 300538 | GSCC010/09 | Aislador de suspensión polimérico 36 kV |
| c 19 | 8 | ET-419 | Cruceta metálica de 2,5 m | |
| d 1 | 16 | 240083 | ET-405 | Diagonal metálica en varilla tipo 1 |
| g 1 | 6 | 251359 | ET-350 | Grapa terminal tipo recto para cables entre 3/0 AWG – 266,8 kcmil |
| j 3 | 6 | 780182 | ET-450 | Metros de cinta de acero inoxidable 5/8”x 0,03” |
| j´ 3 | 2 | 780351 | ET-450 | Hebilla de acero inoxidable 5/8” |
| j 8 | 1 | Templete (1)(2) | ||
| M 1 | 6 | E-MT-006 | Seccionador monopolar 600 A, 36 kV tipo cuchilla | |
| n 4 | 6 | 201020 | ET-461 | Perno de ojo tipo 4 (5/8” x 400 mm) |
| P 2 | 6 | 170893 | GSCC016 | DPS - Descargadores de sobretensión de óxido metálico 30 kV 10 kA |
| p 9 | 2 | 230965 | GSS002/49 | Poste de concreto 14 m 1 350 kg (3) |
| s 75 | 12 | 274320 | Conector tipo cuña P=95 D=70mm² o 4/0-2/0AWG (4) | |
| t 1 | 2 | 251360 | ET-455 | Espárrago 5/8" x 18" |
| t’ 1 | 2 | 251386 | ET-455 | Espárrago 5/8" x 12" |
| t 5 | 8 | 251363 | ET-456 | Tornillo de carruaje 5/8" x 1 1/2" |
| t 9 | 8 | 274482 | ET-457 | Tornillo de acero galvanizado 5/8" x 2" |
| u | 2 | ET-492 | Accesorios para puesta a tierra | |
| x 8 | 12 | 6762560 | ET-601 | Metros de tubo galvanizado 6" |
| x 18 | 4 | ET-604 | Boquilla galvanizada 6" | |
| y 14 | 3 | 274516 | GSCC005 | Terminal tipo exterior 35 kV 150 -240 mm^2 (5) |
| z 44 | 1 | 250002 | ET-495 | Elementos de sujeción de cable MT aislado tripolar a poste |
| z 14 | 4 | 274311 | ET-432 | Abrazadera de dos salidas tipo 4, 200 mm (6) |
ALTERNATIVAS:
(1) Templete según se requiera, existen las siguientes opciones: LA 411 , LA 413 , LA 415 y LA 419 .
(2) En caso de no poder instalar templete utilizar poste con una carga mayor a 1350Kg.
(3) Poste metálico ( ET-208 ) o Poste de Fibra ( ET-205 ).
(4) El conector que aparece en la lista es una referencia, consulte la ET-356 para su selección adecuada.
(5) Los terminales para uso exterior que aparecen en la lista son una referencia, consulte la Especificación Técnica ( GSCC005 ) para su adecuada selección.
(6) La abrazadera que aparece en la lista es una referencia, consulte la ET-432 para su selección adecuada.
NOTAS:
- La distancia “d” entre los postes depende de la distancia entre las cajas de inspección a la salida de la subestación .
- La pantalla metálica de los cables de M.T. debe ser aterrizada en uno solo de los extremos del cable , para evitar corrientes circulantes.
DATOS ADICIONALES
Revisión #
4
Fecha de entrada en vigencia
Actividad de los usuarios
Para hacer comentarios debe iniciar sesión o registrarse aquí