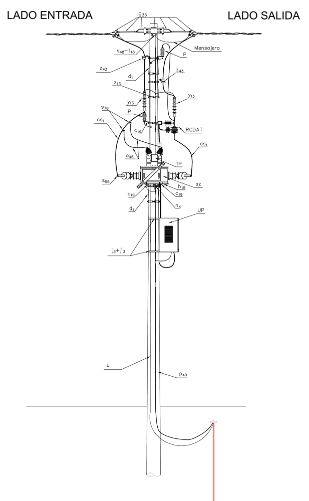
LA664 Red Aislada – Instalación de Seccionalizador (SZ) a 11,4 kV o 13,2 kV
- Contenido

LISTA DE MATERIALES
| SÍMB. | CANT. | CÓDIGO | ESP. TÉCNICA | DESCRIPCIÓN |
| c 19 | 3 | 251506 | ET419 | Cruceta metálica de 2,5 m |
| cs 1 | 6 | 330620 | ET103 | Cable semiaislado 100 mm 2 15 kV |
| d 1 | 6 | 240083 | ET405 | Diagonal metálica en varilla tipo 1 |
| g 33 | 1 | 251577 | ET448 | Conjunto retención doble red MT aérea aislada |
| j 3 | 1 | 780182 | ET450 | Cinta en Acero inoxidable 5/8 " x 30,48 m |
| j´ 3 | 8 | 780351 | ET450 | Hebilla 5/8" de Acero Inoxidable |
| o 45 | 2 | 310418 | ET121 | Metros de cable desnudo de cobre calibre 4 AWG |
| P | 3 | 170892 | GSCC016 | DPS - Descargador de sobretensión óxido metálico 12 kV , 10 kA |
| p 40 | 1 | 6769870 | GSS002 | Poste de concreto de 12 m 1 350 kgf. GSS002/152 (1) |
| RGDAT | 1 | 510341 | Detector de Corrientes de Falla y Ausencia de Tensión para redes de media tensión RGDAT exterior | |
| s 48 | 2 | ET302 | Conector bimetálico terminal de compresión tipo pala 1 hueco, 1/0AWG (2) | |
| s 78 | 2 | 274332 | ET356 | Conector tipo cuña P=95 D=25mm²(4/0AWG /4 AWG) (3) |
| t 5 | 2 | 251363 | ET456 | Tornillo de carruaje 15,9 mm (5/8”) x 38,1mm (1 ½”) |
| t 18 | 2 | 251370 | ET457 | Tornillo de acero galvanizado 1/2" x 3" |
| u 1 | 1 | 201074 | ET492 | Sistema de puesta a tierra en acero |
| UP | 1 | 163303 | Unidad Periférica Tipo exterior | |
| y 13 | 6 | 274587 | GSCC005 | Terminal contraible en frio uso exterior 15 kV conector tipo pala Cu/Al 95-240 mm² (4) |
| z 20 | 1 | 274293 | ET436 | Abrazadera en U tipo 2, 180mm (5) |
| z 43 | 6 | 250003 | ET494 | Elementos de sujeción de cable MT aislado monopolar a cruceta metálica |
ALTERNATIVAS:
(1) Poste de fibra ( ET205 ) o metálico ( ET208 ). El poste que aparece en la lista es una referencia, consulte la norma ( LA010-1 ) para su selección.
(2) Los terminales de compresión que aparecen en la lista son una referencia, consulte la especificación técnica ( ET302 ) para su selección.
(3) Los conectores tipo cuña que aparecen en la lista son una referencia, consulte la especificación técnica ( ET356 ) para su selección.
(4) Los terminales premoldeados que aparecen en la lista son una referencia, consulte la especificación técnica ( GSCC005 ) para su selección.
(5) Las abrazaderas que aparecen en la lista son una referencia, para su selección determine el diámetro del poste del caso a la altura respectiva.
NOTAS:
- Ver las consideraciones dadas en la norma LA650 Red Aislada - Generalidades.
- La cimentación debe realizarse según la norma LA009.
- El cable de red MT aérea aislada se encuentra definido en GSCC008 MV Aerial Bundled Cables.
DATOS ADICIONALES
Revisión #
2
Fecha de entrada en vigencia
Actividad de los usuarios
Para hacer comentarios debe iniciar sesión o registrarse aquí