LA257 Circuito primario doble con una salida de subestación

  • Contenido
 
 




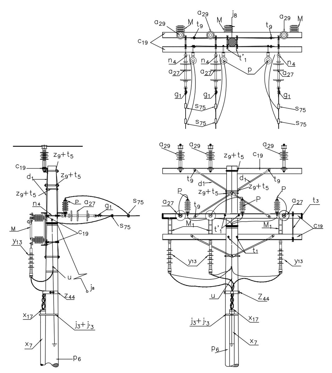
LISTA DE MATERIALES  

 

SÍMB. CANT. CÓDIGO ESP. TECNICA DESCRIPCIÓN 
a 27 3300546GSCC010/01 Aislador de suspensión polimérico 24 kV
a 29 3300548GSCC010/14 Aislador Line Post Compuesto Para Cruceta Metálica 24kV (1)
c 19 3 ET-419 Cruceta metálica de 2,5 m
d 6240083ET-405 Diagonal metálica en varilla tipo 1
g 3251359ET-350 Grapa terminal tipo recto para cables entre 3/0 AWG – 266,8 kcmil
3780351ET-450 Hebilla de acero inoxidable 5/8”
j 3780182ET-450 Metros de cinta de acero inoxidable 5/8”x 0,03”
j 1  Templete (2)(3)
M36762301E-MT-006 Seccionador monopolar 400 A 15 kV tipo cuchilla
n 3201020ET-461 Perno de ojo tipo 4 (5/8” x 400 mm)
P3170892GSCC016 DPS - Descargadores de sobretensión de óxido metálico 12 kV 10 A
p 1230966GSS002/45 Poste de concreto de 12 m 1 050 kg (4)
s 75 6274320ET-356 Conector tipo cuña P=95 D=70mm² o 4/0-2/0AWG (5)
t’ 2251386ET-455 Espárrago 5/8" x 12"
t 3251363ET-456 Tornillo de carruaje 5/8" x 1 1/2"
t 6274482ET-457 Tornillo de acero galvanizado 5/8" x 2"
u1 ET-492 Accesorios para puesta a tierra 
x 17 1 ET-604 Boquilla galvanizada 4" (6)
x 66762440ET-601 Metros de tubo galvanizado 4" (6)
y 13 3274587GSCC005 Terminal tipo exterior pala 95 – 240 mm^2 12/20(24) kV (7)
z 44 1250002ET-495 Elementos de sujeción de cable MT aislado tripolar a poste
z 1274300ET-431 Abrazadera de una salida tipo 4, 200 mm (8)
z 14 1274311ET-432 Abrazadera de dos salidas tipo 4, 200 mm (9)


 


ALTERNATIVAS:  

(1) El aislador tipo Line Post puede incluir o no el porta aislador .  
(2) Templete según se requiera, existen las siguientes opciones: LA 411 , LA 413 , LA 415 y LA 419 .  
(3) En caso de no poder instalar templete utilizar poste con una carga mayor a 1350Kg.  
(4) Poste metálico ( ET-208 ) o Poste de Fibra ( ET-205 ).  
(5) El conector que aparece en la lista es una referencia, consulte la ET-356 para su selección adecuada.  
(6) Dependiendo del calibre del conductor de 15kV o si hace parte del circuito principal se utilizará ducto de 6”  
(7) Los terminales para uso exterior que aparecen en la lista son una referencia, consulte la Especificación Técnica ( GSCC005 ) para su adecuada selección.  
(8) La abrazadera que aparece en la lista es una referencia, consulte la ET-431 para su selección adecuada.  
(9) La abrazadera que aparece en la lista es una referencia, consulte la ET-432 para su selección adecuada.  
(10) La abrazadera que aparece en la lista es una referencia, consulte la ET-436 para su selección adecuada.  

NOTAS:  

- El cable debe ser fijado al aislador Line Post de acuerdo a la norma LA 233 .  
- Los descargadores de sobretensiones para líneas de 11.4kV y 13.2 kV serán de óxido metálico 12 kV, 10 kA.  
- El terminal contraíble en frio para uso exterior ( GSCC005 ) incluye el conector terminal de compresión tipo pala con una perforación M 12 para el apantallamiento

 
DATOS ADICIONALES
Revisión #

4

Fecha de entrada en vigencia

HERRAMIENTAS
RELACIONADAS

Actividad de los usuarios

Estado del comentario