LA469 Red compacta 11,4 kv construcción tangencial de dos circuitos con brazo antibalanceo
- Contenido

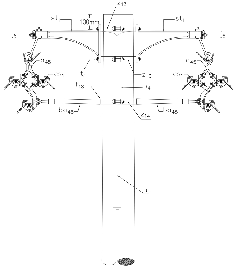
LISTADO DE MATERIALES
| SÍMB. | CANT. | CÓDIGO | ESP. TÉCNICA | DESCRIPCIÓN |
| a45 | 3 | 163152 | E-MT-027 | Espaciador angular 15 kV con grapas |
| ba45 | 3 | 163237 | ET261 | Brazo antibalanceo 15 kV |
| cs1 | 330015 | GSCC021 | Cable semiaislado AAC 95 mm 2 15 kV | |
| j6 | 310410 | E-MT-028 | Cable de acero galvanizado 3/8” | |
| p4 | 1 | 230956 | GSS002 | Poste de concreto de 12 m, 1050 kg (1) |
| st1 | 3 | 251483 | ET443 | Soporte tangencial tipo 1-15 kV con estribo y tornillo |
| t5 | 4 | 251363 | ET456 | Tornillo carruaje 5/8” x 1 1/2" |
| t18 | 2 | 251370 | ET457 | Tornillo de acero galvanizado 1/2" x 3" |
| u | 1 | 201150 | ET492 | SPT Acero 6.3 Red compacta |
| z13 | 2 | 274312 | ET432 | Abrazadera de dos salidas tipo 3, 180 mm (2) |
| z14 | 1 | 274311 | ET432 | Abrazadera de dos salidas tipo 4, 200 mm (2) |
ALTERNATIVAS:
(1) Poste de fibra ( ET205 ) o metálico ( ET208 ). El poste que aparece en la lista es una referencia, consulte la norma ( LA010-1 ) para su selección.
(2) La abrazadera que aparece en la lista es una referencia, consulte la ET432 para su selección adecuada.
NOTAS:
- El mensajero se debe aterrizar aproximadamente cada 100 metros de red compacta.
- Esta estructura se utiliza cada 200 m de red aproximadamente, alternando con las estructuras sin brazo antibalanceo.
DATOS ADICIONALES
Revisión #
3
Fecha de entrada en vigencia
Actividad de los usuarios
Para hacer comentarios debe iniciar sesión o registrarse aquí