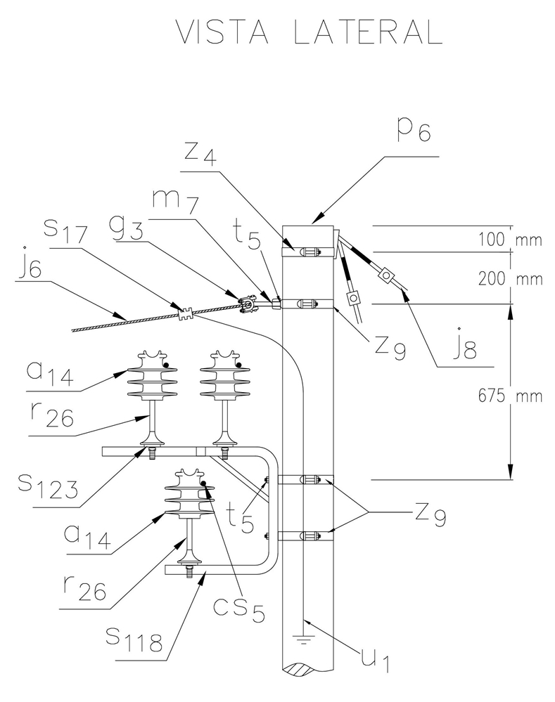
LA467 Red compacta para ángulos de 61 ° a 90 ° con doble aislador 34,5 kV
- Contenido


LISTA DE MATERIALES
| SÍMB. | CANT. | CÓDIGO | ESP. TÉCNICA | DESCRIPCIÓN |
| a 14 | 6 | 300537 | E-MT-011 | Aislador polimérico tipo pin (34,5 kV) |
| cs 5 | 330014 | GSCC021 | Cable semiaislado AAC 95 mm 2 35kV | |
| g 3 | 1 | ET351 | Grapa de suspensión de M.T. | |
| j 6 | 310410 | E-MT-028 | Cable de acero galvanizado 3/8” | |
| j 8 | Templete (1)(2) | |||
| m 7 | 1 | 251362 | ET454 | Tuerca de ojo alargado 5/8” |
| p 6 | 1 | 230966 | GSS002 | Poste de concreto de 12 m, 1 050 kg. GSS002/45 (3) |
| r 26 | 6 | 201073 | ET414 | Porta aislador para cruceta metálica MT 34.5 kV |
| s 118 | 1 | 251488 | ET444 | Soporte ángular tipo 2, 34.5KV |
| s 17 | 1 | 274273 | ET303 | Conector de compresión de ranuras paralelas tipo 1 (4) |
| s 123 | 3 | ET444 | Platina para soporte para dos aisladores (15kV y 35kV) | |
| t 5 | 3 | 251363 | ET456 | Tornillo carruaje 5/8” x 1 ½" |
| u 1 | 1 | 201150 | ET492 | SPT Acero 6.3 Red compacta |
| z 4 | 1 | 274287 | ET433 | Abrazadera sin salida tipo 4, 200 mm (5) |
| z 9 | 3 | 274300 | ET431 | Abrazadera de una salida tipo 4, 200 mm (6) |
| z 46 | 3 | ET445 | Amarre preformado para cable semiaislado 95 mm² |
ALTERNATIVAS:
(1) Templete según se requiera, existen las siguientes opciones: LA411 , LA413 , LA415 y LA419 .
(2) En caso de no poder instalar templete utilizar poste con una carga mayor a 1350 kgf.
(3) Poste de fibra ( ET205 ) o metálico ( ET208 ). El poste que aparece en la lista es una referencia, consulte la norma ( LA010-1 ) para su selección.
(4) El conector que aparece en la lista es una referencia, consultar la ET303 para su selección adecuada y la Norma LA011 de utilización de conectores en líneas Aéreas de 11,4 kV, 13,2 kV y 34,5 kV.
(5) La abrazadera que aparece en la lista es una referencia, consulte la ET433 para su selección adecuada.
(6) La abrazadera que aparece en la lista es una referencia, consulte la ET431 para su selección adecuada.
NOTAS:
- El mensajero sólo debe aterrizarse cada 100 metros de red aproximadamente.
- Deben ubicarse espaciadores a una distancia máxima de 12 metros medidos desde el poste en ambos sentidos.
DATOS ADICIONALES
Revisión #
4
Fecha de entrada en vigencia
Actividad de los usuarios
Para hacer comentarios debe iniciar sesión o registrarse aquí