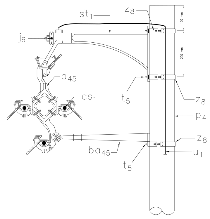
LA461 Red compacta 11,4 kV circuito tangencial con ángulos hasta de 6°
- Contenido

Nota: Dimensiones en milímetros
LISTA DE MATERIALES
| SÍMB. | CANT. | CÓDIGO | ESP. TÉCNICA | DESCRIPCIÓN |
| a 45 | 1 | 163152 | E-MT-027 | Espaciador angular 15 kV con grapas |
| ba 45 | 1 | 163237 | ET261 | Brazo antibalanceo 15 kV |
| cs 1 | 330015 | GSCC021 | Cable semiaislado AAC 95 mm 2 | |
| j 6 | 1 | 310410 | E-MT-028 | Cable mensajero de acero 3/8’’ |
| p 4 | 1 | 230956 | GSS002 | Poste de concreto de 12 m, 510 kg. GSS002/42 (1) |
| st 1 | 1 | 251483 | ET443 | Soporte tangencial tipo 1-15 kV con estribo y tornillo |
| t 5 | 3 | 251363 | ET456 | Tornillo carruaje 5/8” x 1 1/2" |
| u 1 | 1 | 201150 | ET492 | SPT Acero 6.3 Red compacta |
| z 8 | 3 | 274299 | ET431 | Abrazadera de una salida tipo 3, 180 mm (2) |
ALTERNATIVAS :
(1) Poste de fibra ( ET205 ) o metálico ( ET208 ). El poste que aparece en la lista es una referencia, consulte la norma ( LA010-1 ) para su selección.
(2) La abrazadera que aparece en la lista es una referencia, consulte la ET431 para su selección adecuada
NOTAS :
- El mensajero se debe aterrizar aproximadamente cada 100 metros de red compacta
- Esta estructura se utiliza cada 200 m de red aproximadamente, alternando con las estructuras sin brazo antibalanceo.
- Se deben ubicar espaciadores a una distancia de 7 a 10 m desde el poste.
DATOS ADICIONALES
Revisión #
4
Fecha de entrada en vigencia
Actividad de los usuarios
Para hacer comentarios debe iniciar sesión o registrarse aquí