LA677 Red Aislada - Transición red aislada a red subterránea 34,5 kV
- Contenido

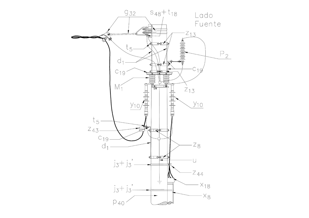
LISTA DE MATERIALES
| SÍMB. | CANT. | CÓDIGO | ESP. TECNICA | DESCRIPCIÓN |
| c 19 | 3 | 251506 | ET419 | Cruceta metálica de 2,5 m |
| cs 5 | 6 | ET103 | Cable semi aislado 100 mm2 35 kV | |
| d 1 | 6 | 240083 | ET405 | Diagonal metálica en varilla tipo 1 |
| g 32 | 1 | 251576 | ET448 | Conjunto retención sencillo red MT aérea aislada |
| j 3 | 1 | 780182 | ET450 | Metros de cinta de acero inoxidable de 5/8”x 0,03” |
| j´ 3 | 2 | 780351 | ET450 | Hebilla de acero inoxidable 5/8” |
| M 1 | 3 | 140992 | E-MT-006 | Seccionador monopolar 600 A, 36 kV tipo cuchilla |
| n 5 | 3 | 201013 | ET461 | Perno de ojo tipo 5 (5/8” x 545 mm ) |
| P 2 | 3 | 170893 | GSCC016 | DPS - Descargador de sobretensión óxido metálico 30 kV , 10 kA |
| p 40 | 1 | 6769870 | GSS002 | Poste de concreto de 12 m 1 350 kgf. GSS002/152 (1) |
| s 50 | 8 | 201059 | ET302 | Conector bimetalico terminal de compresión tipo pala1 hueco,4/0AWG (2) |
| t 5 | 3 | 251363 | ET456 | Tornillo de carruaje 15,9 mm (5/8”) x 38,1mm (1 ½”) |
| t 18 | 1 | 251370 | ET457 | Tornillo de acero galvanizado 1/2" x 3" |
| u 1 | 1 | ET492 | Sistema de puesta a tierra en acero | |
| x 8 | 6 | 6762560 | ET601 | Tubo galvanizado de 6”, 3 m o 6 m |
| 6762557 | ||||
| x 18 | 2 | ET604 | Boquillas galvanizadas de 6” | |
| y 10 | 6 | 274296 | E-MT-026 | Terminal encogible en frio 35kV 120 mm² uso exterior (3) |
| z 8 | 2 | 274299 | ET431 | Abrazadera de una salida tipo 3, 180 mm (4) |
| z 13 | 2 | 274312 | ET432 | Abrazadera de dos salidas tipo 3, 180 mm (4) |
| z 43 | 6 | ET494 | Elementos de sujeción de cable MT aislado monopolar a cruceta metálica | |
| z 44 | 1 | ET495 | Elementos de sujeción de cable MT aislado tripolar a poste |
ALTERNATIVAS :
(1) Poste de fibra ( ET205 ) o metálico ( ET208 ). El poste que aparece en la lista es una referencia, consulte la norma ( LA010-1 ) para su selección.
(2) Los terminales de compresión tipo pala que aparecen en la lista son una referencia, consulte la especificación técnica ( ET302 ) para su selección.
(3) Los terminales premoldeados que aparecen en la lista es una referencia, consulte la especificación técnica ( E-MT-026 ) para su selección.
(4) Las abrazaderas que aparecen en la lista son una referencia, para su selección determine el diámetro del poste del caso a la altura respectiva.
NOTAS :
- Ver las consideraciones dadas en la norma LA 650 Red Aislada - Generalidades.
- La cimentación debe realizarse según la norma LA009.
- El cable de red MT aérea aislada se encuentra definido en GSCC008 MV Aerial Bundled Cables.
DATOS ADICIONALES
Revisión #
0
Fecha de entrada en vigencia
Actividad de los usuarios
Para hacer comentarios debe iniciar sesión o registrarse aquí