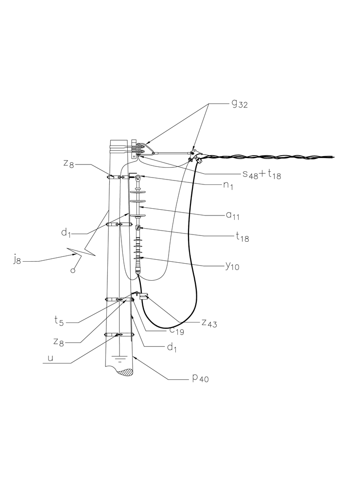
LA672 Red Aislada - Final de circuito 34,5kV
- Contenido

LISTA DE MATERIALES
| SÍMB. | CANT. | CÓDIGO | ESP. TÉCNICA | DESCRIPCIÓN |
| a 11 | 3 | 300538 | GSCC010 | Aislador de suspensión polimérico 36 kV |
| c 19 | 2 | 251506 | ET419 | Cruceta metálica de 2,5 m |
| d 1 | 4 | 240083 | ET405 | Diagonal metálica en varilla tipo 1 |
| g 32 | 1 | 251576 | ET448 | Conjunto retención sencillo red MT aérea aislada |
| j 8 | 1 | Templete (1) | ||
| n 1 | 3 | 201016 | ET461 | Perno de ojo tipo 1 (5/8” x 203 mm) |
| p 40 | 1 | 6769870 | GSS002 | Poste de concreto de 12 m, 1 350 kgf (2) |
| s 48 | 1 | ET302 | Conector terminal de compresión tipo pala, 1/0 AWG | |
| s 50 | 3 | 201059 | ET302 | Conector bimetalico terminal de compresión tipo pala1 hueco,4/0AWG (3) |
| t 5 | 5 | 251363 | ET456 | Tornillo de carruaje 15,9 mm (5/8”) x 38,1mm (1 ½”) |
| t 18 | 4 | 251370 | ET457 | Tornillo de acero galvanizado 1/2" x 3" |
| u 1 | 1 | ET492 | Sistema de puesta a tierra en acero | |
| y 10 | 3 | 274296 | E-MT-026 | Terminal encogible en frio 35kV 120 mm² uso exterior (4) |
| z 8 | 3 | 274299 | ET432 | Abrazadera de una salida tipo 3, 180 mm (5) |
| z 43 | 3 | ET494 | Elementos de sujeción de cable MT aislado |
ALTERNATIVAS :
(1) Según se requiera ( LA010-1 ).
(2) Poste de fibra ( ET205 ) o metálico ( ET208 ). El poste que aparece en la lista es una referencia, consulte la norma ( LA010-1 ) para su selección.
(3) Los terminales de compresión tipo pala que aparecen en la lista son una referencia, consulte la especificación técnica ( ET302 ) para su selección.
(4) Los terminales premoldeados que aparecen en la lista es una referencia, consulte la especificación técnica ( E-MT-026 ) para su selección.
(5) Las abrazaderas que aparecen en la lista son una referencia, para su selección determine el diámetro del poste del caso a la altura respectiva.
NOTAS
:
- Ver las consideraciones dadas en la norma LA 650 Red Aislada - Generalidades.
- La cimentación debe realizarse según la norma LA009.
- El cable de red MT aérea aislada se encuentra definido en GSCC008 MV Aerial Bundled Cables.
DATOS ADICIONALES
Revisión #
1
Fecha de entrada en vigencia
Actividad de los usuarios
Para hacer comentarios debe iniciar sesión o registrarse aquí