LA657 Red Aislada - Transición de red aislada a red subterránea 11,4 kV o 13,2 kV
- Contenido

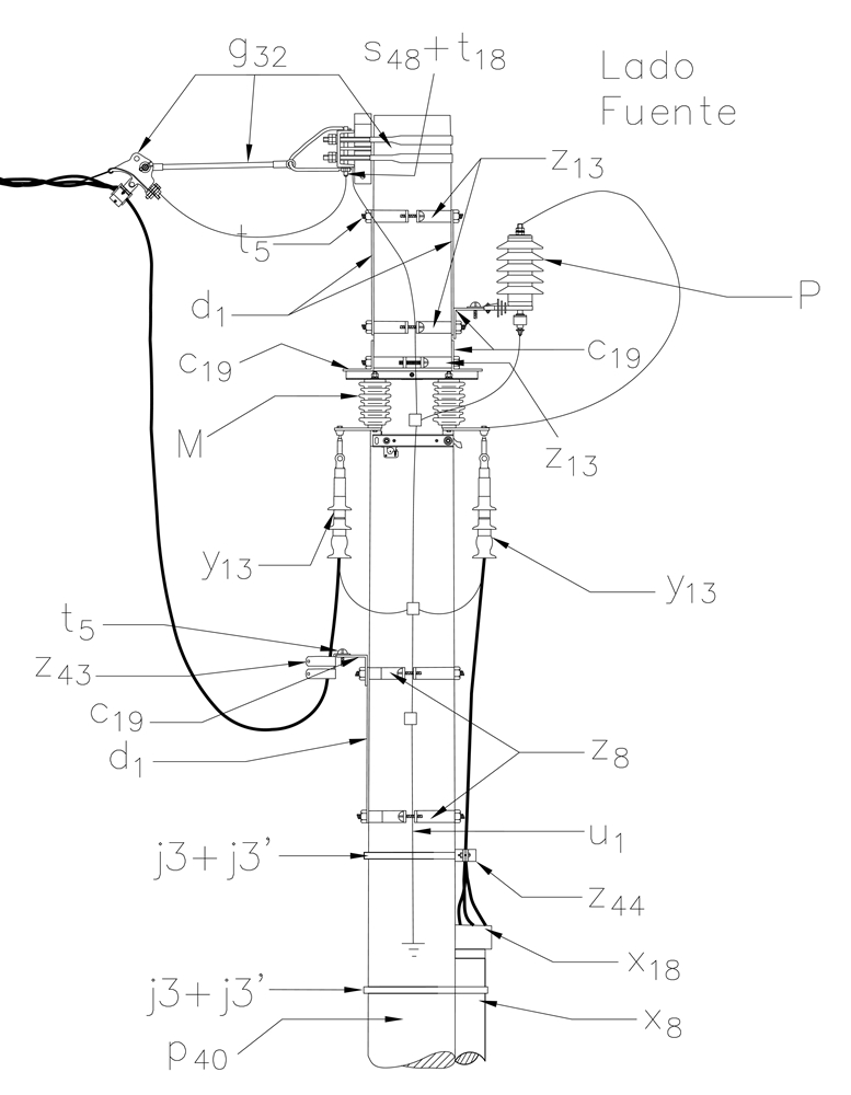
LISTA DE MATERIALES
| SÍMB. | CANT. | CÓDIGO | ESP. TÉNCICA | DESCRIPCIÓN |
| c 19 | 4 | 251506 | ET419 | Cruceta metálica de 2,5 m |
| cs 1 | 6 | 330620 | ET103 | Cable semiaislado 100 mm2 15 kV |
| d 1 | 6 | 240083 | ET405 | Diagonal metálica en varilla tipo 1 |
| g 32 | 1 | 251576 | ET448 | Conjunto retención sencillo red MT aérea aislada |
| j 3 | 2 | 780182 | ET450 | Metros de cinta de acero inoxidable de 5/8”x 0,03” |
| j´ 3 | 2 | 780351 | ET450 | Hebilla de acero inoxidable 5/8” |
| M | 3 | 140995 | E-MT-006 | Seccionador monopolar 400 A – 15 kV |
| n 5 | 3 | 201013 | ET461 | Perno de ojo tipo 5 (5/8” x 545 mm ) |
| P | 3 | 170892 | GSCC016 | DPS - Descargador de sobretensión óxido metálico 12 kV , 10 kA |
| p 40 | 1 | 6769870 | GSS002 | Poste de concreto de 12 m 1 350 kgf. GSS002/152 (1) |
| s 48 | 2 | ET302 | Conector bimetalico terminal de compresión tipo pala1 hueco, 1/0 AWG (3) | |
| s 50 | 2 | 201059 | ET302 | Conector bimetalico terminal de compresión tipo pala1 hueco, 4/0 AWG (3) |
| t 5 | 3 | 251363 | ET456 | Tornillo de carruaje 15,9 mm (5/8”) x 38,1mm (1 ½”) |
| t 18 | 1 | 251370 | ET457 | Tornillo de acero galvanizado 1/2" x 3" |
| u 1 | 1 | 201074 | ET492 | Sistema de puesta a tierra en acero |
| x 8 | 6 | 163042 | ET601 | Tubo galvanizado de 6”, 3 m o 6 m |
| 163041 | ||||
| x 18 | 2 | ET604 | Boquillas galvanizadas de 6” | |
| y 13 | 6 | 274587 | GSCC005 | Terminal contraible en frio uso exterior 15 kV conector tipo pala Cu/Al 95-240 mm². GSC005/2 (4) |
| z 8 | 2 | 274299 | ET431 | Abrazadera de una salida tipo 3, 180 mm (4) |
| z 13 | 3 | 274312 | ET432 | Abrazadera de dos salidas tipo 3, 180 mm (4) |
| z 43 | 6 | 250003 | ET494 | Elementos de sujeción de cable MT aislado monopolar a cruceta metálica |
| z 44 | 1 | 250002 | ET495 | Elementos de sujeción de cable MT aislado tripolar a poste |
ALTERNATIVAS:
(1) Poste de fibra ( ET205 ) o metálico ( ET208 ). El poste que aparece en la lista es una referencia, consulte la norma ( LA010-1 ) para su selección.
(2) Los terminales de compresión tipo pala que aparecen en la lista son una referencia, consulte la especificación técnica ( ET302 ) para su selección.
(3) Los terminales premoldeados que aparecen en la lista es una referencia, consulte la especificación técnica ( GSCC005 ) para su selección.
(4) Las abrazaderas que aparecen en la lista son una referencia, para su selección determine el diámetro del poste del caso a la altura respectiva.
NOTAS:
- Ver las consideraciones dadas en la norma LA650 Red Aislada - Generalidades.
- La cimentación debe realizarse según la norma LA009.
- El cable de red MT aérea aislada se encuentra definido en GSCC008 MV Aerial Bundled Cables.
DATOS ADICIONALES
Revisión #
2
Fecha de entrada en vigencia
Actividad de los usuarios
Para hacer comentarios debe iniciar sesión o registrarse aquí