LA654 Red aislada - retención 11,4 kV o 13,2 kV
- Contenido

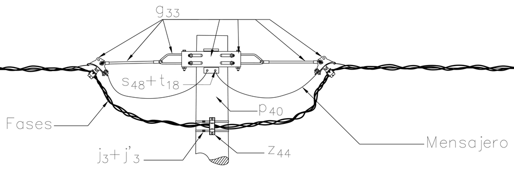
LISTA DE MATERIALES
| SÍMB. | CANT. | CÓDIGO | ESP. TÉCNICA | DESCRIPCIÓN |
| g 33 | 1 | 251577 | ET448 | Conjunto retención doble red MT aérea aislada |
| p 40 | 1 | 6769870 | GSS002 | Poste de concreto de 12 m, 1 350 kgf (1) |
| s 48 | 2 | ET302 | Conector bimetalico terminal de compresión tipo pala1 hueco, 1/0AWG (2) | |
| t 18 | 2 | 251370 | ET457 | Tornillo de acero galvanizado 1/2" x 3" |
| z 8 | 1 | 274299 | ET431 | Abrazadera de una salida tipo 3, 180 mm |
| z 44 | 1 | 250002 | ET495 | Elemento de sujeción de cable MT aislado tripolar a poste |
ALTERNATIVAS:
(1) Poste de fibra ( ET205 ) o metálico ( ET208 ). El poste que aparece en la lista es una referencia, consulte la norma LA010-1 para su utilización.
(2) Los terminales de compresión tipo pala que aparecen en la lista son una referencia, consulte la especificación técnica ( ET302 ) para su selección.
NOTAS:
- Ver las consideraciones dadas en la norma LA650 Red Aislada - Generalidades.
- La cimentación debe realizarse según la norma LA009.
- El cable de red MT aérea aislada se encuentra definido en GSCC008 MV Aerial Bundled Cables.
DATOS ADICIONALES
Revisión #
2
Fecha de entrada en vigencia
Actividad de los usuarios
Para hacer comentarios debe iniciar sesión o registrarse aquí