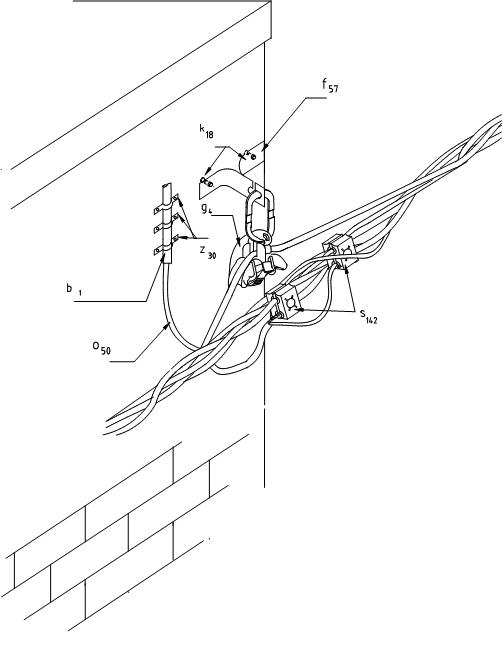
LA346 Circuito secundario sencillo, conductor trenzado sobre muros. Derivación a luminaria
- Contenido
LISTA DE MATERIALES
| SÍMB. | CANT. | CÓDIGO SAP | ESP. TÉCNICA | DESCRIPCIÓN |
| f 57 | 1 | Soporte de suspensión red trenzada en muro (1) | ||
| b 1 | 1 | ET832 | Soporte para luminaria horizontal vìas secundarias | |
| g 4 | 1 | 274313 | ET-355 | Grapa de suspensión aislada para cable trenzado de B.T. |
| k 18 | 2 | Ancla de expansión ½” | ||
| o 50 | 2 | 6762331 | ET-110 | Metros de cable de cobre aislado con neutro concentrico 600 V , 2 x 14 AWG. |
| s 142 | 2 | ET-306 | Conector de tornillo con chaqueta aislante, tipo 3. | |
| z 30 | 3 | Abrazadera para tubo metálico galvanizado ¾” |
(1) Perno de ojo para soporte sobre muros n 31 (½” x 1 ½”).
(2) El soporte depende la luminaria seleccionada y si es del tipo aplique no requiere.
DATOS ADICIONALES
Revisión #
1
Fecha de entrada en vigencia
Actividad de los usuarios
Para hacer comentarios debe iniciar sesión o registrarse aquí