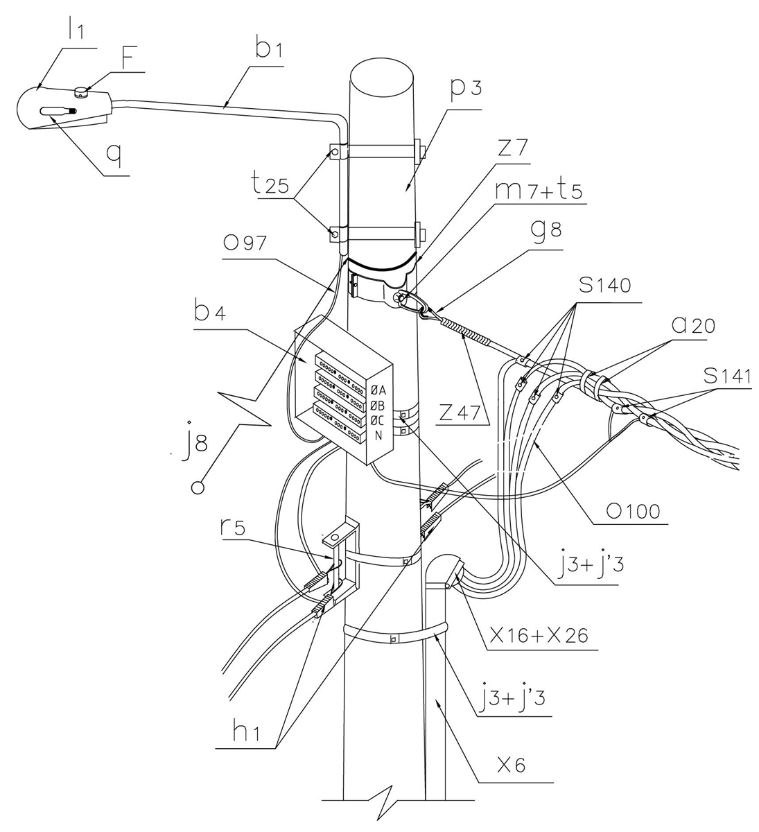
LA326-1 Salidas subterraneas de B.T. a red aérea en conductor trenzado con amarre preformado - Alternativa
- Contenido

LISTA DE MATERIALES
| SÍMB. | CANT. | CÓDIGO | ESP. TÉCNICA | DESCRIPCIÓN |
| a 20 | 4 | 6762518 | Amarre plástico para cable trenzado | |
| b 1 | 1 | ET-832 | Soporte para luminaria horizontal f3/4” x 2 m en vías secundarias | |
| b 4 | 1 | 163459 | GSCC019/1 | Caja de distribución aérea BT |
| F | 1 | 6762325 | ET-810 | Fotocontrol 1000 W / 1800 VA 205 / 285 V, tipo N.C. |
| g 8 | 1 | 251367 | ET-466 | Guardacabo tipo 2 (5) |
| h 1 | 2 | 251380 | ET-353 | Tensor de acometidas |
| j 3 | 4 | 780182 | ET-450 | Metros de cinta de acero inoxidable 5/8”x 0,03” |
| j´ 3 | 4 | 780351 | ET-450 | Hebilla de acero inoxidable 5/8” |
| j 8 | 1 | Templete (1)(2) | ||
| l 1 | 1 | 6762554 | ET-801 | Luminaria de sodio 70 W para alumbrado público |
| m 7 | 3 | 251362 | ET-454 | Tuerca de ojo alargado 5/8” |
| o 97 | 3 | GSCC009/006 | Cable BT Aéreo Al 2x25+54,6 mm^2, neutro auto soportado. (7) | |
| o 100 | 2 | GSCC009 | Cable BT Aéreo Al 3x35+54,6 mm^2, neutro auto soportado. (7) | |
| p 3 | 1 | 230955 | GSS002/41 | Poste de concreto 10 m 1 050 kg (3) |
| q | 1 | 6762336 | ET-820 | Bombilla de sodio 70 W sodio HID, 90 V |
| r 5 | 2 | 251365 | ET-417 | Percha porta aislador de un puesto |
| s 140 | 4 | ET-306 | Conector de tornillo con chaqueta aislante, tipo 1 | |
| s 141 | 4 | ET-306 | Conector de tornillo con chaqueta aislante, tipo 2 | |
| t 5 | 1 | 251363 | ET-456 | Tornillo de carruaje 5/8" x 1 1/2" |
| t 25 | 2 | Tornillo soporte para brazo de luminaria 1/2" | ||
| t 30 | 1 | Tapón sellador de cable 4/0 AWG | ||
| x 6 | 6 | 6764379 | ET-601 | Metros de tubo galvanizado 3" (4) |
| x 16 | 1 | ET-604 | Boquilla galvanizada 3" | |
| x 26 | 1 | ET-605 | Capacete galvanizado 3" | |
| x 36 | 1 | ET-602 | Codo galvanizado 3" x 90 | |
| z 7 | 1 | 274298 | ET-431 | Abrazadera de una salida tipo 2, 140 mm (6) |
| z 47 | 1 | Amarre preformado para cable cubierto de B.T (5) |
ALTERNATIVAS:
(1) Templete según se requiera, existen las siguientes opciones: LA 411 , LA 413 , LA 415 y LA 419 .
(2) En caso de no poder instalar templete utilizar poste con una carga mayor a 1350Kg.
(3) El poste indicado en esta norma únicamente está previsto para el montaje de Red de Baja Tensión (BT) presentado. En caso de incluir: media tensión y/o Telemáticos, debe consultar la familia de normas LA010 correspondiente para la selección del poste.
(4) El diámetro del ducto se escoge de acuerdo con el calibre de los conductores.
(5) En lugar de la abrazadera (z 7 ), tornillo de carruaje (t 5 ) y tuerca de ojo (m 7 ), se puede utilizar un perno de ojo tipo 2 (n 2 , ET-461 ).
(6) La abrazadera que aparece en la lista es una referencia, consulte la ET-431 para su selección adecuada.
(7) El cable indicado en la lista es una referencia, se debe seleccionar de acuerdo a la capacidad requerida.
NOTA:
- El número de tensores de acometidas (h 1 ) depende de la cantidad y calibre de las acometidas en el poste.
- Los vanos adyacentes están limitados por la fotometría de la luminaria.
DATOS ADICIONALES
Revisión #
1
Fecha de entrada en vigencia
Actividad de los usuarios
Para hacer comentarios debe iniciar sesión o registrarse aquí