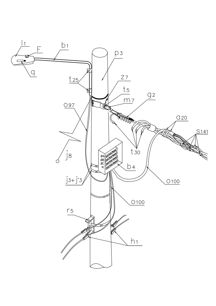
LA321 Final de circuito secundario sencillo en conductor trenzado
- Contenido

LISTA DE MATERIALES
| SÍMB. | CANT. | CÓDIGO | ESP. TECNICA | DESCRIPCIÓN |
| a 20 | 3 | 6762518 | Amarre plástico para cable trenzado | |
| b 1 | 1 | ET-832 | Soporte para luminaria horizontal f3/4” x 2 m en vias secundarias | |
| b 4 | 1 | 163459 | GSCC019/1 | Caja de distribución aérea BT |
| F | 1 | 6762325 | ET-810 | Fotocontrol 1000 W / 1800 VA 205 / 285 V, tipo N.C. |
| g 2 | 1 | ET-354 | Grapa retención aislada para red trenzada de B.T. | |
| h 1 | 4 | 251380 | ET-353 | Tensor de acometidas |
| j 3 | 3 | 780182 | ET-450 | Metros de cinta de acero inoxidable 5/8”x 0,03” |
| j´ 3 | 3 | 780351 | ET-450 | Hebilla de acero inoxidable 5/8” |
| j 8 | 1 | Templete (1)(2) | ||
| l 1 | 1 | 6762554 | ET-801 | Luminaria de sodio 70 W para alumbrado público |
| m 7 | 1 | 251362 | ET-454 | Tuerca de ojo alargado 5/8” |
| o 97 | 4 | GSCC009/006 | Cable BT Aéreo Al 2x25+54,6 mm^2, neutro auto soportado. (6) | |
| o 100 | 2 | GSCC009/009 | Cable BT Aéreo Al 3x35+54,6 mm^2, neutro auto soportado. (6) | |
| p 3 | 1 | 230955 | GSS002/41 | Poste de concreto 10 m 1 050 kg (3) |
| q | 1 | 6762336 | ET-820 | Bombilla de sodio 70 W sodio HID, 90 V |
| r 5 | 2 | 251365 | ET-417 | Percha porta aislador de un puesto |
| s 141 | 4 | ET-306 | Conector de tornillo con chaqueta aislante, tipo 2 | |
| s 143 | 1 | ET-306 | Conector de tornillo con chaqueta aislante, tipo 4 | |
| t 5 | 1 | 251363 | ET-456 | Tornillo de carruaje 5/8" x 1 1/2" |
| t 25 | 2 | Tornillo soporte para brazo de luminaria 1/2" | ||
| t 30 | 4 | Tapón sellador de cable 4/0 AWG | ||
| z 7 | 1 | 274298 | ET-431 | Abrazadera de una salida tipo 2, 140 mm (5) |
ALTERNATIVAS:
(1) Templete según se requiera, existen las siguientes opciones: LA 411 , LA 413 , LA 415 y LA 419 .
(2) En caso de no poder instalar templete utilizar poste con una carga mayor a 1350Kg.
(3) El poste indicado en esta norma únicamente está previsto para el montaje de Red de Baja Tensión (BT) presentado. En caso de incluir: media tensión y/o Telemáticos, debe consultar la familia de normas LA010 correspondiente para la selección del poste.
(4) Para fijar la grapa de retención (g 4 ) en lugar de la abrazadera (z 7 ), tornillo de carruaje (t 5 ) y tuerca de ojo (m 7 ), se puede utilizar un perno de ojo tipo 2 (n 2 , ET-461 ). En caso necesario podrá utilizarse un eslabón en U ( ET-366 ), para instalar la grapa de retención, en el perno de ojo.
(5) La abrazadera que aparece en la lista es una referencia, consulte la ET-431 para su selección adecuada.
(6) El cable indicado en la lista es una referencia, se debe seleccionar de acuerdo a la capacidad requerida.
NOTAS:
- El número de tensores de acometidas (h 1 ) depende de la cantidad y calibre de las acometidas en el poste.
- Los vanos adyacentes están limitados por la fotometría de la luminaria.
DATOS ADICIONALES
Revisión #
2
Fecha de entrada en vigencia
Actividad de los usuarios
Para hacer comentarios debe iniciar sesión o registrarse aquí