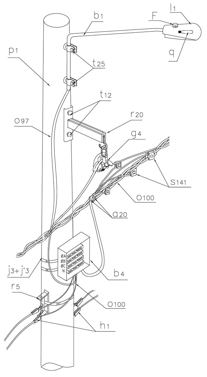
LA320-1 Circuito secundario sencillo en conductor trenzado construcción en línea con extensión
- Contenido

LISTA DE MATERIALES
| SÍMB. | CANT. | CÓDIGO | ESP. TECNICA | DESCRIPCIÓN |
| a 20 | 2 | 6762518 | Amarre plástico para cable trenzado | |
| b 1 | 1 | ET-832 | Soporte para luminaria horizontal f3/4” x 2 m en vías secundarias | |
| b 4 | 1 | 163459 | GSCC019/1 | Caja de distribución aérea BT |
| F | 1 | 6762325 | ET-810 | Fotocontrol 1000 W / 1800 VA 205 / 285 V, tipo N.C. |
| g 4 | 1 | 274313 | ET-355 | Grapa de suspensión para cable trenzado de B.T. |
| h 1 | 4 | 251380 | ET-353 | Tensor de acometidas |
| j 3 | 3 | 780182 | ET-450 | Metros de cinta de acero inoxidable 5/8”x 0,03” |
| j´ 3 | 3 | 780351 | ET-450 | Hebilla de acero inoxidable 5/8” |
| l 1 | 1 | 6762554 | ET-801 | Luminaria de sodio 70 W para alumbrado público |
| o 97 | 3 | GSCC009/006 | Cable BT Aéreo Al 2x25+54,6 mm^2, neutro auto soportado. (2) | |
| o 100 | 2 | GSCC009/009 | Cable BT Aéreo Al 3x35+54,6 mm^2, neutro auto soportado. (2) | |
| p 1 | 1 | 230954 | GSS002/39 | Poste de concreto 10 m 510 kg (1) |
| q | 1 | 6762336 | ET-820 | Bombilla de sodio 70 W sodio HID, 90 V |
| r 5 | 2 | 251365 | ET-417 | Percha porta aislador de un puesto |
| r 20 | 1 | ET-420 | Extensión para soporte de red trenzada de B.T. | |
| s 141 | 4 | ET-306 | Conector de tornillo con chaqueta aislante, tipo 2 | |
| t 12 | 2 | 251373 | ET-457 | Tornillo de acero galvanizado 5/8" x 10" |
| t 25 | 2 | Tornillo soporte para brazo de luminaria 1/2" |
ALTERNATIVAS:
(1) El poste indicado en esta norma únicamente está previsto para el montaje de Red de Baja Tensión (BT) presentado. En caso de incluir: media tensión y/o Telemáticos, debe consultar la familia de normas LA010 correspondiente para la selección del poste.
(2) El cable indicado en la lista es una referencia, se debe seleccionar de acuerdo a la capacidad requerida.
NOTAS:
- Los vanos adyacentes están limitados por la fotometría de la luminaria.
- El número de tensores de acometidas (h 1 ) depende de la cantidad y calibre de las acometidas en el poste.
DATOS ADICIONALES
Revisión #
2
Fecha de entrada en vigencia
Actividad de los usuarios
Para hacer comentarios debe iniciar sesión o registrarse aquí