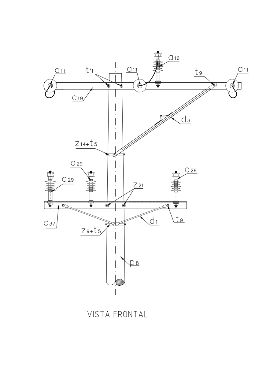
LA163 Retención doble circuito urbano 34,5 kV con circuito primario sencillo 11,4 kV en construcción tangencial
- Contenido


LISTA DE MATERIALES
| SÍMB. | CANT. | CÓDIGO | ESP. TECNICA | DESCRIPCIÓN |
| a 11 | 6 | 300538 | GSCC010/09 | Aislador de suspensión polimérico 36 kV |
| a 16 | 1 | 300547 | GSCC010/18 | Aislador Line Post Compuesto Para Cruceta Metálica 36kV (1) |
| a 29 | 3 | 300548 | GSCC010/14 | Aislador Line Post Compuesto Para Cruceta Metálica 24kV (1) |
| c 19 | 2 | ET-419 | Cruceta metálica de 2,5 m | |
| c 37 | 1 | ET-419 | Cruceta metálica 2 m | |
| d 1 | 2 | 240083 | ET-405 | Diagonal metálica en varilla tipo 1 |
| d 3 | 2 | 240082 | ET-406 | Diagonal metálica en ángulo tipo 2 |
| g 1 | 6 | 251359 | ET-350 | Grapa terminal tipo recto para cables entre 3/0 AWG – 266,8 kcmil |
| m 7 | 3 | 251362 | ET-454 | Tuerca de ojo alargado 5/8” |
| n 4 | 3 | 201020 | ET-461 | Perno de ojo tipo 4 (5/8” x 400 mm) |
| p 8 | 1 | 230960 | GSS002/48 | Poste de concreto 14 m 1 050 kg (2) |
| s 75 | 3 | 274320 | ET-356 | Conector cuña p=95 d=70mm2 o 4/0-2/0awg (3) |
| t’ 1 | 2 | 251386 | ET-455 | Espárrago 5/8" x 12" |
| t 5 | 3 | 251363 | ET-456 | Tornillo de carruaje 5/8" x 1 1/2" |
| t 9 | 4 | 274482 | ET-457 | Tornillo de acero galvanizado 5/8" x 2" |
| z 9 | 1 | 274300 | ET-431 | Abrazadera de una salida tipo 4, 200 mm (4) |
| z 14 | 1 | 274311 | ET-432 | Abrazadera de dos salidas tipo 4, 200 mm (5) |
| z 21 | 1 | 274286 | ET-436 | Abrazadera en U tipo 3, 210 mm (6) |
ALTERNATIVAS:
(1) El aislador tipo Line Post puede incluir o no el porta aislador .
(2) Poste metálico ( ET-208 ) o Poste de Fibra ( ET-205 ).
(3) El conector que aparece en la lista es una referencia, consultar la ET-356 para su selección adecuada y la Norma LA 011 de utilización de conectores en líneas Aéreas de 11,4 kV, 13,2 kV y 34,5 Kv.
(4) La abrazadera que aparece en la lista es una referencia, consulte la ET-431 para su selección adecuada.
(5) La abrazadera que aparece en la lista es una referencia, consulte la ET-432 para su selección adecuada.
(6) La abrazadera que aparece en la lista es una referencia, consulte la ET-436 para su selección adecuada.
NOTA:
- El cable debe ser fijado al aislador Line Post de acuerdo a la norma LA 233 .
- Esta estructura se utiliza para casos forzosos y especiales debidamente autorizados, ya que el mantenimiento implica desenergizar los dos circuitos.
DATOS ADICIONALES
Revisión #
3
Fecha de entrada en vigencia
Actividad de los usuarios
Para hacer comentarios debe iniciar sesión o registrarse aquí