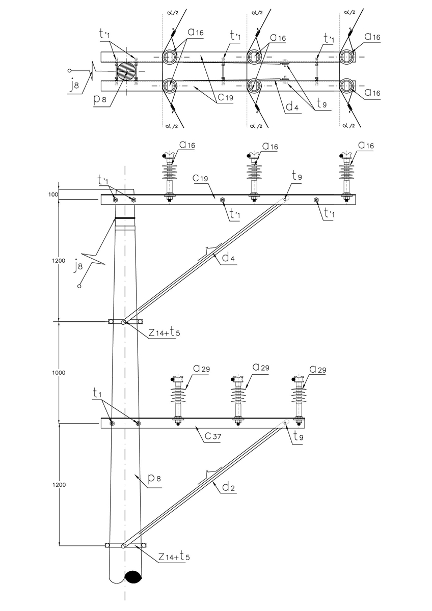
LA159 Circuito urbano 34,5 kV en bandera con circuito de 11,4 ó 13,2 kV en bandera para ángulos entre 6º y 20º
- Contenido

LISTA DE MATERIALES
| SÍMB. | CANT. | CÓDIGO | ESP. TECNICA | DESCRIPCIÓN |
| a 16 | 6 | 300547 | GSCC010/18 | Aislador Line Post Compuesto Para Cruceta Metálica 36kV (1) |
| a 29 | 6 | 300548 | GSCC010/14 | Aislador Line Post Compuesto Para Cruceta Metálica 24kV (1) |
| c 19 | 2 | ET-419 | Cruceta metálica de 2,5 m | |
| c 37 | 2 | ET-419 | Cruceta metálica 2 m | |
| d 2 | 2 | 251388 | ET-406 | Diagonal metálica en ángulo tipo 1 |
| d 4 | 2 | 240080 | ET-406 | Diagonal metálica en ángulo tipo 3 |
| j 8 | 1 | Templete (2)(3) | ||
| p 8 | 1 | 230960 | GSS002/48 | Poste de concreto 14 m 1 050 kg (4) |
| t’ 1 | 4 | 251386 | ET-455 | Espárrago 5/8" x 12" |
| t 1 | 2 | 251360 | ET-455 | Espárrago 5/8" x 18" |
| t 5 | 4 | 251363 | ET-456 | Tornillo de carruaje 5/8" x 1 1/2" |
| t 9 | 4 | 274482 | ET-457 | Tornillo de acero galvanizado 5/8" x 2" |
| z 14 | 2 | 274311 | ET-432 | Abrazadera de dos salidas tipo 4, 200 mm (5) |
ALTERNATIVAS:
(1) El aislador tipo Line Post puede incluir o no el porta aislador .
(2) Templete según se requiera, existen las siguientes opciones: LA 411 , LA 413 , LA 415 y LA 419 .
(3) En caso de no poder instalar templete utilizar poste con una carga mayor a 1350Kg.
(4) Poste metálico ( ET-208 ) o Poste de Fibra ( ET-205 ).
(5) La abrazadera que aparece en la lista es una referencia, consulte la ET-432 para su selección adecuada.
NOTAS:
- El cable debe ser fijado al aislador Line Post de acuerdo a la norma LA 233 .
- El ángulo de deflexión (Alpha) según el poste corresponde a:
Poste de 14 m , 750 kg : 6 º <= Alpha <= 10º
Poste de 14 m , 1 050 kg : 11 º <= Alpha <= 14º
Poste de 14 m , 1 350 kg : 15 º <= Alpha <= 20º
- Esta estructura se utiliza para casos forzosos y especiales debidamente autorizados, ya que el mantenimiento implica desenergizar los dos circuitos.
DATOS ADICIONALES
Revisión #
2
Fecha de entrada en vigencia
Actividad de los usuarios
Para hacer comentarios debe iniciar sesión o registrarse aquí