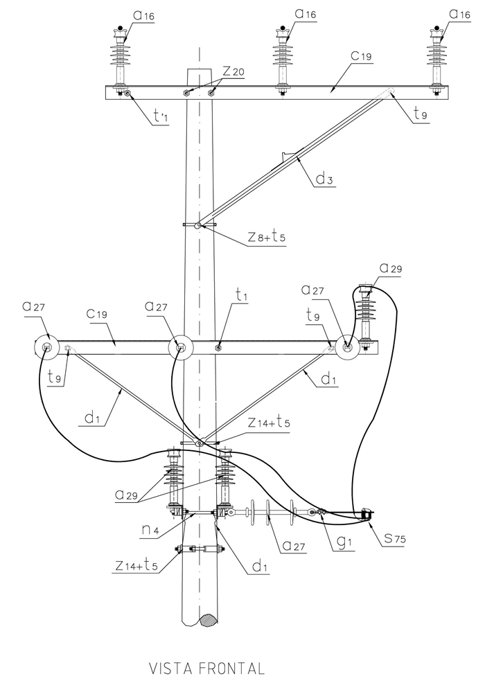
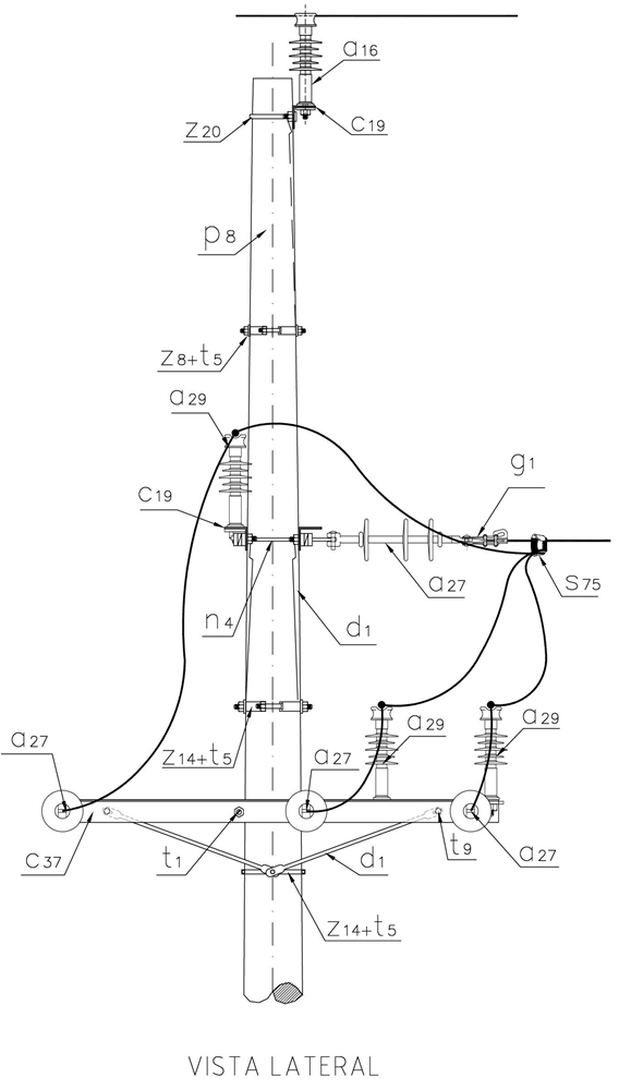
LA157 Circuito urbano 34,5 kV con circuito primario 11,4 kV en cambio de ángulo a 90º
- Contenido


LISTA DE MATERIALES
| SÍMB. | CANT. | CÓDIGO | ESP. TECNICA | DESCRIPCIÓN |
| a 16 | 3 | 300547 | GSCC010/18 | Aislador Line Post Compuesto Para Cruceta Metálica 36Kv (1) |
| a 27 | 6 | 300546 | GSCC010/01 | Aislador de suspensión polimérico 24 kV |
| a 29 | 3 | 300548 | GSCC010/14 | Aislador Line Post Compuesto Para Cruceta Metálica 24kV (1) |
| c 19 | 3 | ET-419 | Cruceta metálica de 2,5 m | |
| c 37 | 2 | ET-419 | Cruceta metálica 2 m | |
| d 1 | 8 | 240083 | ET-405 | Diagonal metálica en varilla tipo 1 |
| d 3 | 1 | 240082 | ET-406 | Diagonal metálica en ángulo tipo 2 |
| g 1 | 6 | 251359 | ET-350 | Grapa terminal tipo recto para cables entre 3/0 AWG – 266,8 kcmil |
| n 4 | 6 | 201020 | ET-461 | Perno de ojo tipo 4 (5/8” x 400 mm) |
| p 8 | 1 | 230960 | GSS002/48 | Poste de concreto 14 m 1 050 kg (2) |
| s 75 | 6 | 274320 | ET-356 | Conector tipo cuña P=95 D=70mm² o 4/0-2/0AWG (3) |
| t 1 | 2 | 251360 | ET-455 | Espárrago 5/8" x 18" |
| t’ 1 | 1 | 251386 | ET-455 | Espárrago 5/8" x 12" |
| t 5 | 5 | 251363 | ET-456 | Tornillo de carruaje 5/8" x 1 1/2" |
| t 9 | 9 | 274482 | ET-457 | Tornillo de acero galvanizado 5/8" x 2" |
| z 8 | 1 | 274299 | ET-431 | Abrazadera de una salida tipo 3, 180 mm (4) |
| z 14 | 2 | 274311 | ET-432 | Abrazadera de dos salidas tipo 4, 200 mm (5) |
| z 20 | 1 | 274293 | ET-436 | Abrazadera en U tipo 2, 180 mm (6) |
ALTERNATIVAS:
(1) El aislador tipo Line Post puede incluir o no el porta aislador .
(2) Poste metálico ( ET-208 ) o Poste de Fibra ( ET-205 ).
(3) El conector que aparece en la lista es una referencia, consulte la ET-356 para su selección adecuada.
(4) La abrazadera que aparece en la lista es una referencia, consulte la ET-431 para su selección adecuada.
(5) La abrazadera que aparece en la lista es una referencia, consulte la ET-432 para su selección adecuada.
(6) La abrazadera que aparece en la lista es una referencia, consulte la ET-436 para su selección adecuada.
NOTAS:
- El cable debe ser fijado al aislador Line Post de acuerdo a la norma LA 233 .
- Esta estructura se utiliza para casos forzosos y especiales debidamente autorizados, ya que el mantenimiento implica desenergizar los dos circuitos.
DATOS ADICIONALES
Revisión #
2
Fecha de entrada en vigencia
Actividad de los usuarios
Para hacer comentarios debe iniciar sesión o registrarse aquí