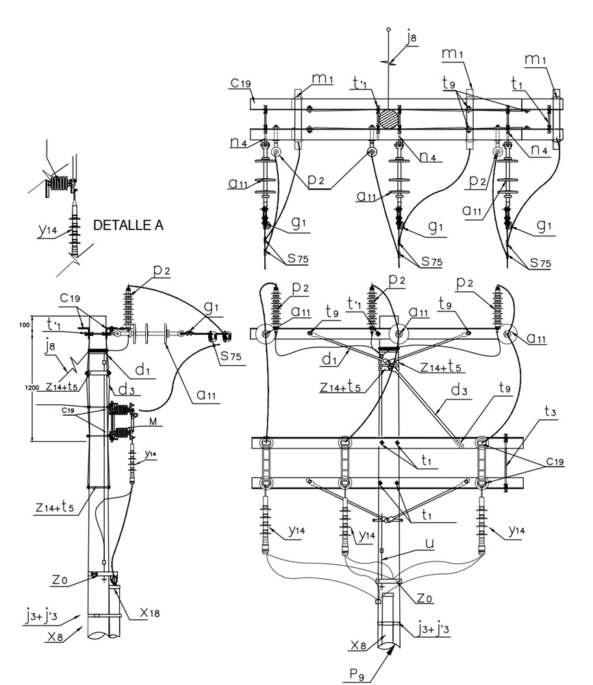
LA121 Circuito urbano 34,5 kV salida de subestación o subterranización del circuito principal

  • Contenido
 
 




LISTA DE MATERIALES  

 

SÍMB. CANT. CÓDIGO ESP. TECNICA DESCRIPCIÓN 
a 11 3300538GSCC010/09 Aislador de suspensión polimérico 36 kV
c 19 4 ET-419 Cruceta metálica de 2,5 m
d 4240083ET-405 Diagonal metálica en varilla tipo 1
d 2240082ET-406 Diagonal metálica en ángulo tipo 2
g 3251359ET-350 Grapa terminal tipo recto para cables entre 3/0 AWG – 266,8 kcmil
j 3780182ET-450 Metros de cinta de acero inoxidable 5/8”x 0,03”
3780351ET-450 Hebilla de acero inoxidable 5/8”
j 1  Templete (1)(2)
M 3 E-MT-006 Seccionador monopolar 600 A, 36 kV tipo cuchilla
n 3201020ET-461 Perno de ojo tipo 4 (5/8” x 400 mm)
P 3170893GSCC016 DPS - Descargadores de sobretensión de óxido metálico 30 kV 10 kA
p 1230965GSS002/49 Poste de concreto 14 m 1 350 kg (3)
s 75 6274320ET-356 Conector tipo cuña P=95 D=70mm² o 4/0-2/0AWG (4)
t 3251360ET-455 Espárrago 5/8" x 18"
t’ 1251386ET-455 Espárrago 5/8" x 12"
t 4251363ET-456 Tornillo de carruaje 5/8" x 1 1/2"
t 6274482ET-457 Tornillo de acero galvanizado 5/8" x 2"
u1 ET-492 Accesorios para puesta a tierra 
x 66762560ET-601 Metros de tubo galvanizado 6"
x 18 2 ET-604 Boquilla galvanizada 6"
y 14 3274516GSCC005 Terminal tipo exterior 35 kV 150 -240 mm^2 (5)
z 44 1250002ET-495 Elementos de sujeción de cable MT aislado tripolar a poste
z 14 2274311ET-432 Abrazadera de dos salidas tipo 4, 200 mm (6)


 


ALTERNATIVAS:  

(1) Templete según se requiera, existen las siguientes opciones: LA 411 , LA 413 , LA 415 y LA 419 .  
(2) En caso de no poder instalar templete utilizar poste con una carga mayor a 1350Kg.  
(3) Poste metálico ( ET-208 ) o Poste de Fibra ( ET-205 ).  
(4) El conector que aparece en la lista es una referencia, consulte la ET-356 para su selección adecuada.  
(5) Los terminales para uso exterior que aparecen en la lista son una referencia, consulte la Especificación Técnica ( GSCC005 ) para su adecuada selección.  
(6) La abrazadera que aparece en la lista es una referencia, consulte la ET-432 para su selección adecuada.  

NOTAS:  

- Los descargadores de sobretensiones para líneas de 11.4kV y 13.2 kV serán de óxido metálico 12 kV, 10 kA.  
 

 
DATOS ADICIONALES
Revisión #

4

Fecha de entrada en vigencia

HERRAMIENTAS
RELACIONADAS

Actividad de los usuarios

Estado del comentario