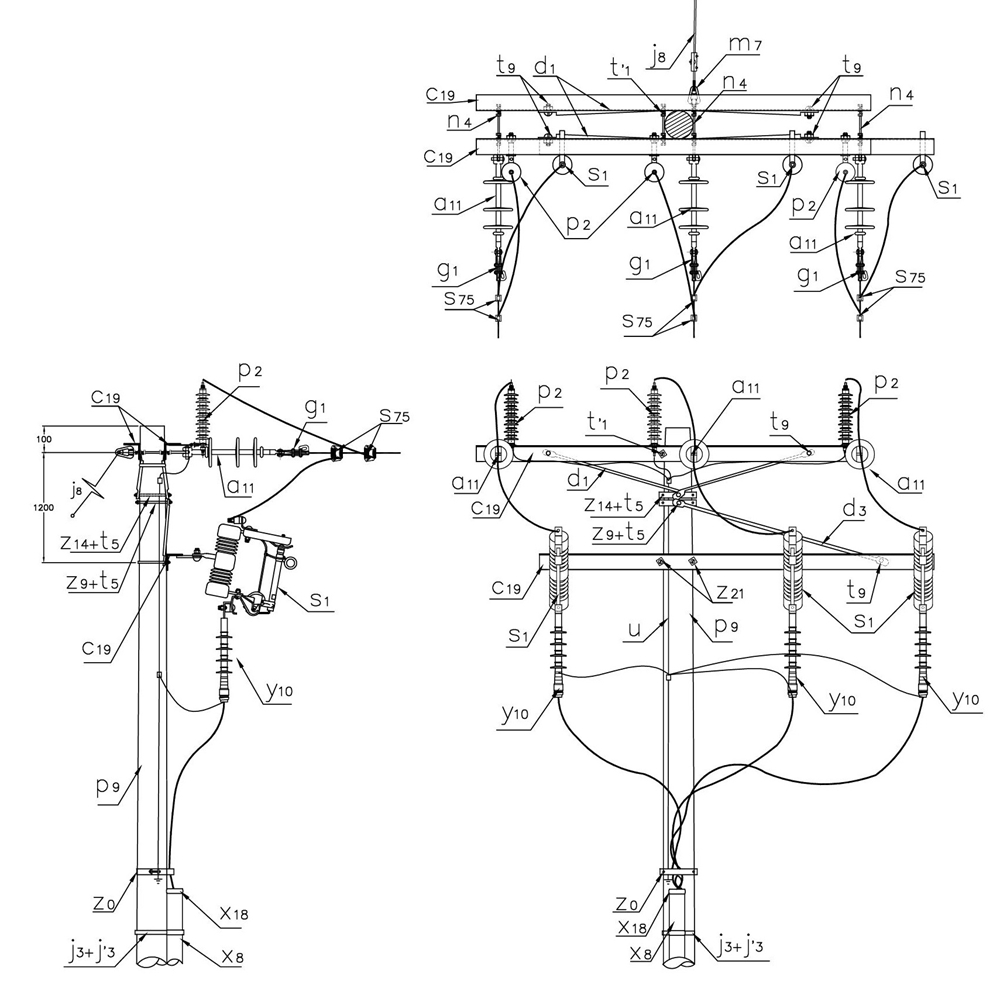
LA118 Circuito urbano 34,5 kV retención con derivación larga en cable triplex longitud mayor de 100 m
- Contenido

LISTA DE MATERIALES
| SÍMB | CANT. | CÓDIGO | ESP. TECNICA | DESCRIPCIÓN |
| a 11 | 3 | 300538 | GSCC010/09 | Aislador de suspensión polimérico 36 kV |
| c 19 | 3 | ET-419 | Cruceta metálica de 2,5 m | |
| d 1 | 4 | 240083 | ET-405 | Diagonal metálica en varilla tipo 1 |
| d 3 | 1 | 240082 | ET-406 | Diagonal metálica en ángulo tipo 2 |
| g 1 | 3 | 251359 | ET-350 | Grapa terminal tipo recto para cables entre 3/0 AWG – 266,8 kcmil |
| j 3 | 6 | 780182 | ET-450 | Metros de cinta de acero inoxidable 5/8”x 0,03” |
| j´ 3 | 2 | 780351 | ET-450 | Hebilla de acero inoxidable 5/8” |
| j 8 | 1 | Templete (1)(2) | ||
| m 7 | 1 | 251362 | ET-454 | Tuerca de ojo alargado 5/8” |
| n 4 | 3 | 201020 | ET-461 | Perno de ojo tipo 4 (5/8” x 400 mm) |
| P 2 | 3 | 170893 | GSCC016 | DPS - Descargadores de sobretensión de óxido metálico 30 kV 10 kA |
| p 9 | 1 | 230965 | GSS002/49 | Poste de concreto 14 m 1 350 kg (3) |
| S 1 | 3 | 6762278 | E-MT-001 | Cortacircuito de cañuela 100 A 38 kV |
| s 75 | 6 | 274320 | ET-356 | Conector tipo cuña P=95 D=70mm² o 4/0-2/0AWG (4) |
| t’ 1 | 1 | 251386 | ET-455 | Espárrago 5/8" x 12" |
| t 5 | 3 | 251363 | ET-456 | Tornillo de carruaje 5/8" x 1 1/2" |
| t 9 | 5 | 274482 | ET-457 | Tornillo de acero galvanizado 5/8" x 2" |
| u | 1 | ET-492 | Accesorios para puesta a tierra | |
| x 8 | 6 | 6762560 | ET-601 | Metros de tubo galvanizado 6" |
| x 18 | 2 | ET-604 | Boquilla galvanizada 6" | |
| y 10 | 3 | 274296 | E-MT-026 | Terminal encogible en frio 35kV 120 mm² uso exterior (5) |
| z 0 | 1 | 250002 | ET-495 | Abrazadera para sujeción de cables en bajantes |
| z 9 | 1 | 274300 | ET-431 | Abrazadera de una salida tipo 4, 200 mm (6) |
| z 14 | 1 | 274311 | ET-432 | Abrazadera de dos salidas tipo 4, 200 mm (7) |
| z 21 | 1 | 274286 | ET-436 | Abrazadera en U tipo 3, 210 mm (8) |
ALTERNATIVAS:
(1) Templete según se requiera, existen las siguientes opciones: ET-411 , ET414, ET-415 y ET-419 .
(2) En caso de no poder instalar templete utilizar poste con una carga mayor a 1350Kg.
(3) Poste metálico ( ET-208 ) o Poste de Fibra ( ET-205 ).
(4) El conector que aparece en la lista es una referencia, consulte la ET-356 para su selección adecuada.
(5) Los terminales contraíbles en frio para uso exterior que aparecen en la lista son una referencia, consulte la Especificación Técnica ( E-MT-026 ) para su adecuada selección.
(6) La abrazadera que aparece en la lista es una referencia, consulte la ET-431 para su selección adecuada.
(7) La abrazadera que aparece en la lista es una referencia, consulte la ET-432 para su selección adecuada.
(8) La abrazadera que aparece en la lista es una referencia, consulte la ET-436 para su selección adecuada.
NOTA:
- El terminal contraíble en frio para uso exterior ( E-MT-026 ) incluye el conector terminal de compresión tipo pala con una perforación M12 para el apantallamiento.
DATOS ADICIONALES
Revisión #
3
Fecha de entrada en vigencia
Actividad de los usuarios
Para hacer comentarios debe iniciar sesión o registrarse aquí