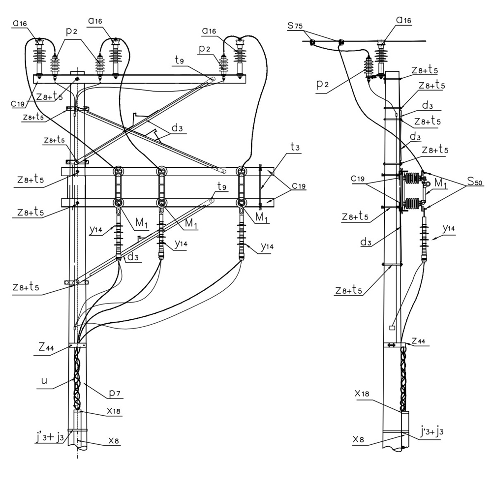
LA117 Circuito urbano 34,5 kV con derivación corta cable triplex longitud menor de 100 m
- Contenido

LISTA DE MATERIALES
| SÍMB | CANT. | CÓDIGO | ESP. TECNICA | DESCRIPCIÓN |
| a 16 | 3 | 300547 | GSCC010/18 | Aislador Line Post Compuesto Para Cruceta Metálica 36Kv (1) |
| c 19 | 3 | ET-419 | Cruceta metálica de 2,5 m | |
| d 3 | 3 | 240082 | ET-406 | Diagonal metálica en ángulo tipo 2 |
| j 3 | 6 | 780182 | ET-450 | Metros de cinta de acero inoxidable 5/8”x 0,03” |
| j´ 3 | 2 | 780351 | ET-450 | Hebilla de acero inoxidable 5/8” |
| M 1 | 3 | E-MT-006 | Seccionador monopolar 600 A, 36 kV tipo cuchilla | |
| P 2 | 3 | 170893 | GSCC016 | DPS - Descargadores de sobretensión de óxido metálico 30 kV 10 kA |
| p 7 | 1 | 230958 | GSS002/47 | Poste de concreto 14 m 750 kg (2) |
| s 75 | 6 | 274320 | ET-356 | Conector tipo cuña P=95 D=70mm² o 4/0-2/0AWG (3) |
| t 1 | 2 | 251360 | ET-455 | Espárrago 5/8" x 18" |
| t 5 | 3 | 251363 | ET-456 | Tornillo de carruaje 5/8" x 1 1/2" |
| t 9 | 3 | 274482 | ET-457 | Tornillo de acero galvanizado 5/8" x 2" |
| u | 1 | ET-492 | Accesorios para puesta a tierra | |
| x 8 | 6 | 6762560 | ET-601 | Metros de tubo galvanizado 6" |
| x 18 | 2 | ET-604 | Boquilla galvanizada 6" | |
| y 14 | 3 | 274516 | GSCC005 | Terminal tipo exterior 35 kV 150 -240 mm^2 (4) |
| z 8 | 1 | 274299 | ET-431 | Abrazadera de una salida tipo 3, 180 mm (5) |
| z 14 | 1 | 274311 | ET-432 | Abrazadera de dos salidas tipo 4, 200 mm (6) |
| z 44 | 1 | 250002 | ET-495 | Elementos de sujeción de cable MT aislado tripolar a poste |
ALTERNATIVAS:
(1) El aislador tipo Line Post puede incluir o no el porta aislador .
(2) Poste metálico ( ET-208 ) o Poste de Fibra ( ET-205 ).
(3) El conector que aparece en la lista es una referencia, consulte la ET-356 para su selección adecuada.
(4) Los terminales para uso exterior que aparecen en la lista son una referencia, consulte la Especificación Técnica ( GSCC005 ) para su adecuada selección.
(5) La abrazadera que aparece en la lista es una referencia, consulte la ET-431 para su selección adecuada.
(6) La abrazadera que aparece en la lista es una referencia, consulte la ET-432 para su selección adecuada.
(7) La abrazadera que aparece en la lista es una referencia, consulte la ET-436 para su selección adecuada.
NOTAS:
- El cable debe ser fijado al aislador Line Post de acuerdo a la norma LA 233 .
DATOS ADICIONALES
Revisión #
4
Fecha de entrada en vigencia
Actividad de los usuarios
Para hacer comentarios debe iniciar sesión o registrarse aquí