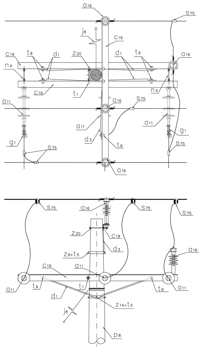
LA109 Circuito urbano 34,5 kV derivación a 90º con retención horizontal
- Contenido

LISTA DE MATERIALES
| SÍMB. | CANT. | CÓDIGO | ESP. TECNICA | DESCRIPCIÓN |
| a 11 | 3 | 300538 | GSCC010/09 | Aislador de suspensión polimérico 36 kV |
| a 16 | 4 | 300547 | GSCC010/18 | Aislador Line Post Compuesto Para Cruceta Metálica 36kV (1) |
| c 19 | 3 | ET-419 | Cruceta metálica de 2,5 m | |
| d 1 | 4 | 240083 | ET-405 | Diagonal metálica en varilla tipo 1 |
| d 3 | 1 | 240082 | ET-406 | Diagonal metálica en ángulo tipo 2 |
| g 1 | 3 | 251359 | ET-350 | Grapa terminal tipo recto para cables entre 3/0 AWG – 266,8 kcmil |
| j 8 | 1 | Templete (2)(3) | ||
| n 4 | 3 | 201020 | ET-461 | Perno de ojo tipo 4 (5/8” x 400 mm) |
| p 8 | 1 | 230960 | GSS002/48 | Poste de concreto 14 m 1 050 kg (4) |
| s 75 | 6 | 274320 | ET-356 | Conector tipo cuña P=95 D=70mm² o 4/0-2/0AWG (5) |
| t 1 | 1 | 251360 | ET-455 | Espárrago 5/8" x 18" |
| t 5 | 3 | 251363 | ET-456 | Tornillo de carruaje 5/8" x 1 1/2" |
| t 9 | 5 | 274482 | ET-457 | Tornillo de acero galvanizado 5/8" x 2" |
| z 9 | 1 | 274300 | ET-431 | Abrazadera de una salida tipo 4, 200 mm (6) |
| z 14 | 1 | 274311 | ET-432 | Abrazadera de dos salidas tipo 4, 200 mm (7) |
| z 20 | 1 | 274293 | Abrazadera en U tipo 2, 180 mm (8) |
ALTERNATIVAS:
(1) El aislador tipo Line Post puede incluir o no el porta aislador .
(2) Templete según se requiera, existen las siguientes opciones: LA 411 , LA 413 , LA 415 y LA 419 .
(3) En caso de no poder instalar templete utilizar poste con una carga mayor a 1350Kg.
(4) Poste metálico ( ET-208 ) o Poste de Fibra ( ET-205 ).
(5) El conector que aparece en la lista es una referencia, consulte la ET-356 para su selección adecuada.
(6) La abrazadera que aparece en la lista es una referencia, consulte la ET-431 para su selección adecuada.
(7) La abrazadera que aparece en la lista es una referencia, consulte la ET-432 para su selección adecuada.
NOTAS:
- El cable debe ser fijado al aislador Line Post de acuerdo a la norma LA 233 .
DATOS ADICIONALES
Revisión #
2
Fecha de entrada en vigencia
Actividad de los usuarios
Para hacer comentarios debe iniciar sesión o registrarse aquí