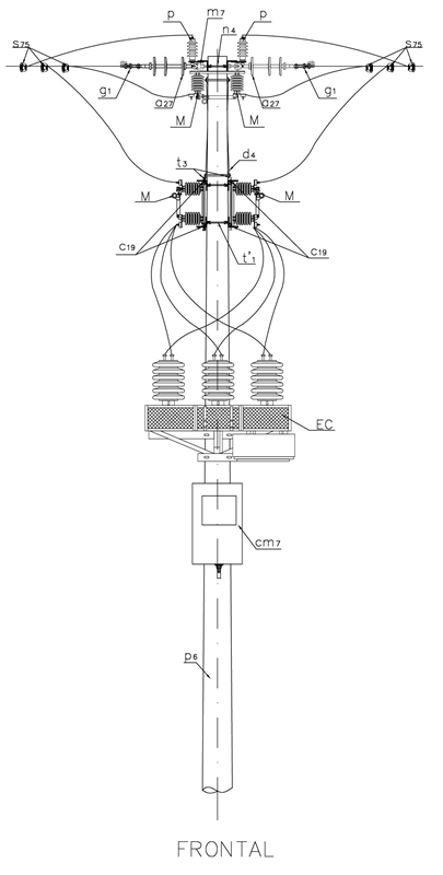
LA245 Circuito primario sencillo. Construcción en bandera. Instalacion equipo de medida compacto / combinado
- Contenido
MONTAJE DE EQUIPO DE MEDIDA EN MEDIA TENSIÓN COMPACTO/COMBINADO (CT´s Y PT´s) – Caso redes



LISTADO DE MATERIALES
| SÍMB. | CANT. | CÓDIGO | ESP. TECNICA | DESCRIPCIÓN |
| a 27 | 6 | 300546 | GSCC010/01 | Aislador de suspensión polimérico 24 kV |
| c 19 | 6 | ET-419 | Cruceta metálica de 2,5 m | |
| CM 7 | 1 | 6778416 | Caja para medidor de macromedición embutida | |
| d 4 | 4 | 240080 | ET-406 | Diagonal metálica en ángulo tipo 3 |
| EC | 1 | Equipo compacto / combinado (CT´s + PT´s) | ||
| j´ 3 | 2 | 780351 | ET-450 | Hebilla de acero inoxidable 5/8” |
| j 3 | 4 | 780182 | ET-450 | Metros de cinta de acero inoxidable 5/8”x 0,03” |
| M | 9 | 6762301 | E-MT-006 | Seccionador monopolar 400 A 15 kV tipo cuchilla |
| m 7 | 3 | 251362 | ET-454 | Tuerca de ojo alargado 5/8” |
| n 4 | 3 | 201020 | ET-461 | Perno de ojo tipo 4 (5/8” x 400 mm) |
| P | 6 | 170892 | GSCC016 | DPS - Descargadores de sobretensión de óxido metálico 12 kV 10 A |
| p 6 | 1 | 230966 | GSS002/45 | Poste de concreto de 12 m 1 050 kg |
| s 75 | 18 | 274320 | ET-356 | Conector tipo cuña P=95 D=70mm² o 4/0-2/0AWG |
| t’ 1 | 6 | 251386 | ET-455 | Espárrago 5/8" x 12" |
| t 3 | 2 | 6762256 | ET-455 | Espárrago 5/8" x 24" |
| t 5 | 4 | 251363 | ET-456 | Tornillo de carruaje 5/8" x 1 1/2" |
| t 9 | 4 | 274482 | ET-457 | Tornillo de acero galvanizado 5/8" x 2" |
| u | 2 | ET-492 | Accesorios para puesta a tierra | |
| z 14 | 2 | 274311 | ET-432 | Abrazadera de dos salidas tipo 4, 200 mm |
ALTERNATIVAS:
(1) Poste metálico ( ET-208 ) o Poste de Fibra ( ET-205 ).
(2) El conector que aparece en la lista es una referencia, consulte la ET-356 para su selección adecuada.
(3) La abrazadera que aparece en la lista es una referencia, consulte la ET-432 para su selección adecuada.
NOTAS:
- Los descargadores de sobretensiones para líneas de 11.4kV y 13.2 kV serán de óxido metálico 12 kV, 10 kA.
- La referencia y capacidad del equipo compacto / combinado depende de los criterios de diseño.
RECOMENDACIONES PARA INSTALACIÓN Y OPERACIÓN:
- Realizar el cierre o apertura de cada juego de seccionadores de forma simultánea al momento de energizar o desenergizar el equipo .
- Instalar una tierra para el equipo compacto / combinado y otra tierra para los descargadores de sobretensiones, las dos puestas a tierra se aterrizan en mismo punto.
- La resistencia de puesta a tierra debe ser menor a 10 Ohm.
DATOS ADICIONALES
Revisión #
4
Fecha de entrada en vigencia
Actividad de los usuarios
Para hacer comentarios debe iniciar sesión o registrarse aquí