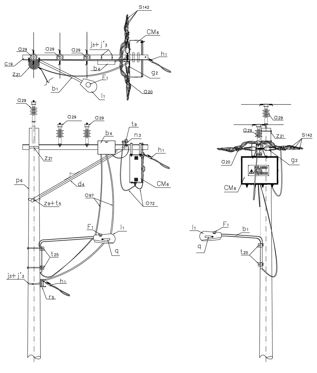
LA240 Circuito primario sencillo – instalacion de medidor bicuerpo en cruceta
- Contenido
LISTA DE MATERIALES
| SIMB. | CANT. | CODIGO | ESP. TÉCNICA | DESCRIPCION |
| a 20 | 2 | 6762518 | Amarre plástico para cable trenzado | |
| a 29 | 3 | 300548 | GSCC010 | Aislador Line Post Compuesto Para Cruceta Metálica 24kV. GSCC010/14 (1) |
| b 1 | 1 | 251506 | ET832 | Soporte para luminaria horizontal f3/4” x 2 m en vías secundarias |
| b 4 | 1 | 6762318 | GSCC019 | Caja de borneras para derivación de acometidas. GSCC019/1 |
| c 19 | 1 | 251506 | ET419 | Cruceta metálica de 2,5 m |
| CM 6 | 1 | Caja portamedidor (2) | ||
| d 4 | 1 | 240080 | ET406 | Diagonal metálica en ángulo tipo 3 |
| F 1 | 1 | 6762137 | ET810 | Fotocontrol 1 000 W 1 500 VA, 105/130 V tipo N.A. |
| g 2 | 2 | ET354 | Grapa retención aislada para red trenzada de B.T. | |
| h 1 | 5 | 251380 | ET353 | Tensor de acometidas |
| j 3 | 1 | 780182 | ET450 | Metros de cinta de acero inoxidable 5/8”x 0,03” |
| j´ 3 | 1 | 780351 | ET450 | Hebilla de acero inoxidable 5/8” |
| l 1 | 1 | 6762554 | ET801 | Luminaria de sodio 70 W para alumbrado público |
| n 3 | 1 | ET461 | Perno de ojo tipo 3 (5/8” x 305 mm) | |
| o 97 | 3 | GSCC009 | Cable BT Aéreo Al 2x25+54,6 mm^2, neutro auto soportado. GSCC009/006 | |
| o 72 | 3 | GSCC009 | Metros de cable cuadruplex de aluminio aislado tipo XLPE 600 V 3x2/0 + 1 x 1/0 AWG | |
| p 6 | 1 | 230966 | GSS002 | Poste de concreto de 12 m 1 050 kg. GSS002/45 (3) |
| q | 1 | 6762336 | ET820 | Bombilla de sodio 70 W sodio HID, 90 V |
| r 5 | 1 | 251365 | ET417 | Percha porta aislador de un puesto |
| s 142 | 3 | ET306 | Conector de tornillo con chaqueta aislante, tipo 3 | |
| t 5 | 1 | 251363 | ET456 | Tornillo de carruaje 5/8" x 1 1/2" |
| t 9 | 1 | 274482 | ET457 | Tornillo de acero galvanizado 5/8" x 2" |
| t 25 | 2 | Tornillo soporte para brazo de luminaria 1/2" | ||
| z 9 | 1 | 274300 | ET431 | Abrazadera de una salida tipo 4, 200 mm (4) |
| z 21 | 1 | 274286 | ET436 | Abrazadera en U tipo 3, 210 mm (5) |
ALTERNATIVAS:
(1) El aislador tipo Line Post puede incluir o no el porta aislador .
(2) En caso de ser un solo medidor se puede instalar caja según ET919 .
(3) Poste metálico ( ET208 ) o Poste de Fibra ( ET205 ).
(4) La abrazadera que aparece en la lista es una referencia, consulte la ET431 para su selección adecuada.
(5) La abrazadera que aparece en la lista es una referencia, consulte la ET436 para su selección adecuada.
NOTAS:
- El cable debe ser fijado al aislador Line Post de acuerdo a la norma LA233 .
- El número de tensores de acometidas (h 1 ) depende de la cantidad y calibre de las acometidas en el poste.
DATOS ADICIONALES
Revisión #
5
Fecha de entrada en vigencia
Actividad de los usuarios
Para hacer comentarios debe iniciar sesión o registrarse aquí