LA227 Montaje de condensadores en la red de 11,4 kV
- Contenido

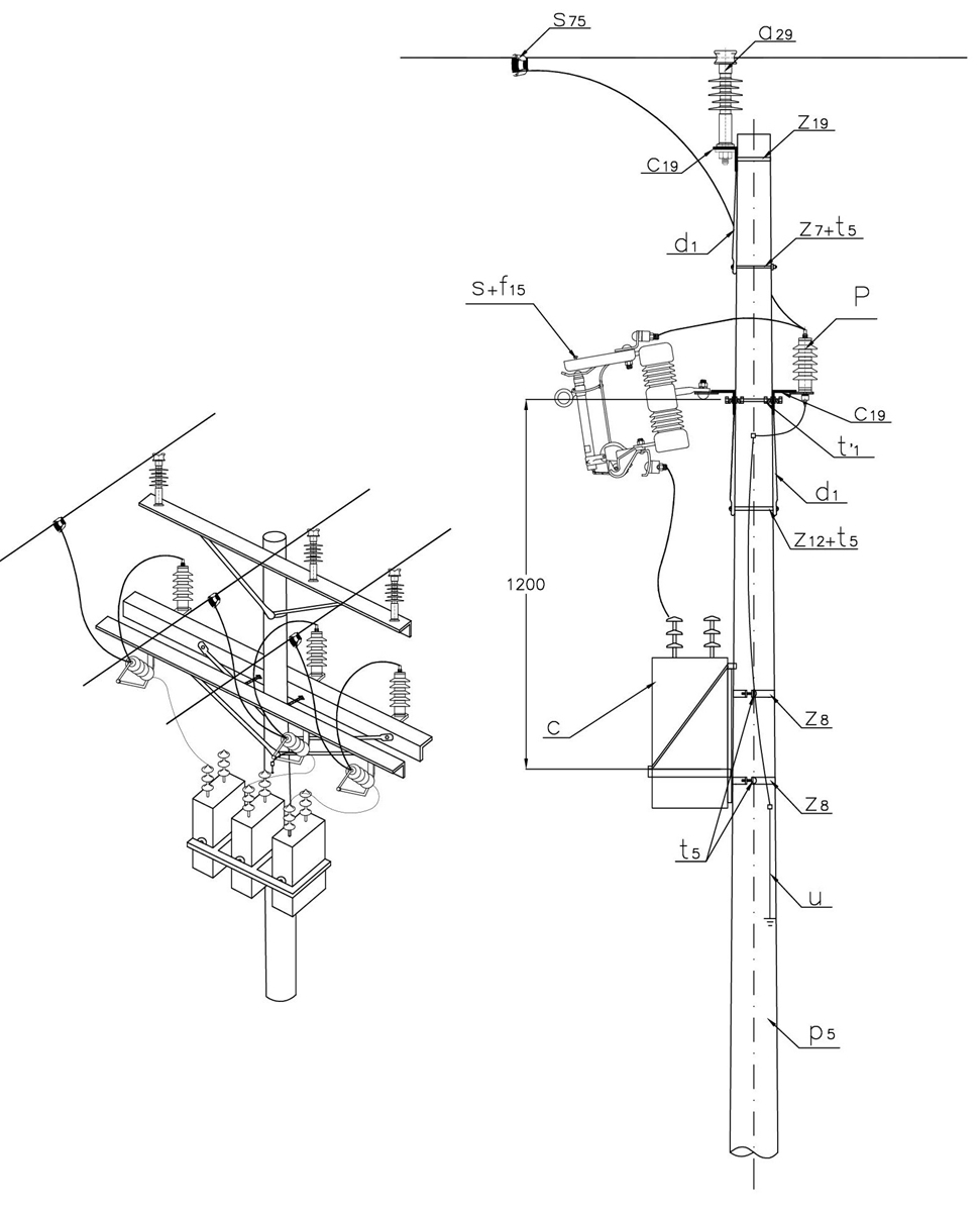
LISTA DE MATERIALES
| SÍMB. | CANT. | CÓDIGO | ESP. TECNICA | DESCRIPCIÓN |
| a 29 | 3 | 300548 | GSCC010/14 | Aislador Line Post Compuesto Para Cruceta Metálica 24kV (1) |
| C | 1 | 6763168 | Banco de condensadores 3 x 200 kVAr (2) | |
| c 19 | 3 | ET-419 | Cruceta metálica de 2,5 m | |
| d 1 | 6 | 240083 | ET-405 | Diagonal metálica en varilla tipo 1 |
| f 15 | 3 | 170836 | ET-501 | Fusible 25K |
| P | 3 | 170892 | GSCC016 | DPS - Descargadores de sobretensión de óxido metálico 12 kV 10 A |
| p 5 | 1 | 230957 | GSS002/44 | Poste de concreto de 12 m 750 kg (3) |
| s 75 | 3 | 274320 | ET-356 | Conector tipo cuña P=95 D=70mm² o 4/0-2/0AWG (4) |
| S | 3 | 6762115 | E-MT-001 | Cortacircuito de cañuela 100 A 15 kV |
| t’ 1 | 2 | 251386 | ET-455 | Espárrago 5/8" x 12" |
| t 5 | 5 | 251363 | ET-456 | Tornillo de carruaje 5/8" x 1 1/2" |
| t 9 | 6 | 274482 | ET-457 | Tornillo de acero galvanizado 5/8" x 2" |
| u | 1 | ET-492 | Accesorios para puesta a tierra | |
| z 7 | 1 | 274298 | ET-431 | Abrazadera de una salida tipo 2, 140 mm (5) |
| z 8 | 2 | 274299 | ET-431 | Abrazadera de una salida tipo 3, 180 mm(5) |
| z 12 | 1 | 274295 | ET-432 | Abrazadera de dos salidas tipo 2, 140 mm (6) |
| z 19 | 1 | 274285 | ET-436 | Abrazadera en U tipo 1, 150 mm (7) |
ALTERNATIVAS:
(1) El aislador tipo Line Post puede incluir o no el porta aislador .
(2) El banco de condensadores es una referencia, ésta depende únicamente de las necesidades del circuito.
(3) Poste metálico ( ET-208 ) o Poste de Fibra ( ET-205 ).
(4) El conector que aparece en la lista es una referencia, consulte la ET-356 para su selección adecuada.
(5) La abrazadera que aparece en la lista es una referencia, consulte la ET-431 para su selección adecuada.
(6) La abrazadera que aparece en la lista es una referencia, consulte la ET-432 para su selección adecuada.
(7) La abrazadera que aparece en la lista es una referencia, consulte la ET-436 para su selección adecuada.
NOTAS:
- El banco de condensadores con neutro sólidamente a tierra debe utilizar varilla de puesta a tierra y la bajante en cobre desnudo 2/0 AWG.
- La medida de la resistencia no debe ser mayor a 5 ohmios.
- Los bancos de condensadores de 600 kVAr deben protegerse con fusibles de expulsión tipo 25kV.
- El cable debe ser fijado al aislador Line Post de acuerdo a la norma LA 233 .
DATOS ADICIONALES
Revisión #
3
Fecha de entrada en vigencia
Actividad de los usuarios
Para hacer comentarios debe iniciar sesión o registrarse aquí