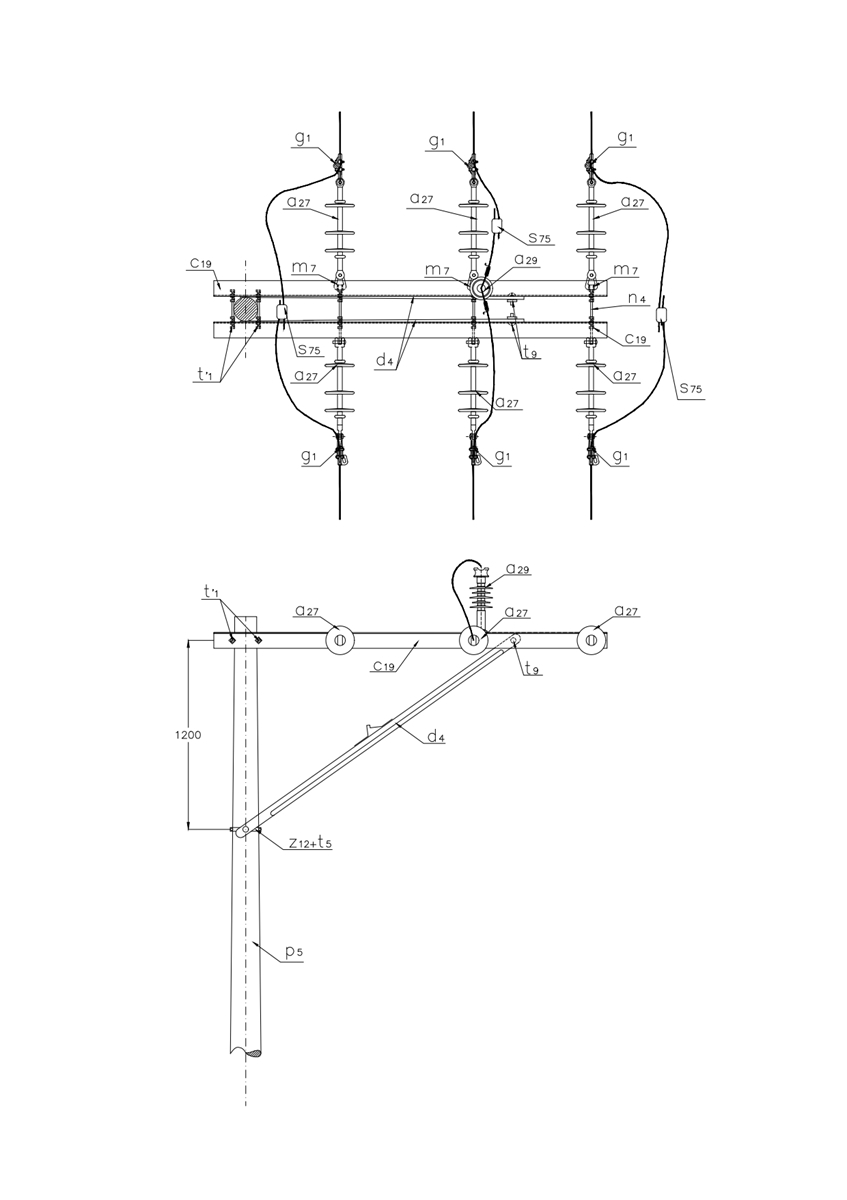
LA222 Retención doble circuito primario sencillo construcción tipo bandera
- Contenido

LISTA DE MATERIALES
| SÍMB. | CANT. | CÓDIGO | ESP. TECNICA | DESCRIPCIÓN |
| a 27 | 6 | 300546 | GSCC010/01 | Aislador de suspensión polimérico 24 kV |
| a 29 | 1 | 300548 | GSCC010/14 | Aislador Line Post Compuesto Para Cruceta Metálica 24kV (1) |
| c 19 | 2 | ET-419 | Cruceta metálica de 2,5 m | |
| d 4 | 2 | 240080 | ET-406 | Diagonal metálica en ángulo tipo 3 |
| g 1 | 6 | 251359 | ET-350 | Grapa terminal tipo recto para cables entre 3/0 AWG – 266,8 kcmil |
| m 7 | 3 | 251362 | ET-454 | Tuerca de ojo alargado 5/8” |
| n 4 | 6 | 201020 | ET-461 | Perno de ojo tipo 4 (5/8” x 400 mm) |
| p 5 | 1 | 230957 | GSS002/44 | Poste de concreto de 12 m 750 kg (2) |
| s 75 | 3 | 274320 | ET-356 | Conector cuña p=95 d=70mm2 o 4/0-2/0awg (3) |
| t’ 1 | 2 | 251386 | ET-455 | Espárrago 5/8" x 12" |
| t 5 | 2 | 251363 | ET-456 | Tornillo de carruaje 5/8" x 1 1/2" |
| t 9 | 2 | 274482 | ET-457 | Tornillo de acero galvanizado 5/8" x 2" |
| z 12 | 1 | 274295 | ET-432 | Abrazadera de dos salidas tipo 2, 140 mm (4) |
ALTERNATIVAS:
(1) El aislador tipo Line Post puede incluir o no el porta aislador .
(2) Poste metálico ( ET-208 ) o Poste de Fibra ( ET-205 ).
(3) El conector que aparece en la lista es una referencia, consultar la ET-356 para su selección adecuada y la Norma LA 011 de utilización de conectores en líneas Aéreas de 11,4 kV, 13,2 kV y 34,5 Kv.
(4) La abrazadera que aparece en la lista es una referencia, consulte la ET-432 para su selección adecuada.
NOTAS:
- El cable debe ser fijado al aislador Line Post de acuerdo a la norma LA 233 .
DATOS ADICIONALES
Revisión #
4
Fecha de entrada en vigencia
Actividad de los usuarios
Para hacer comentarios debe iniciar sesión o registrarse aquí