LA221 Circuito primario sencillo salida de subestación o subterranización del circuito principal
- Contenido

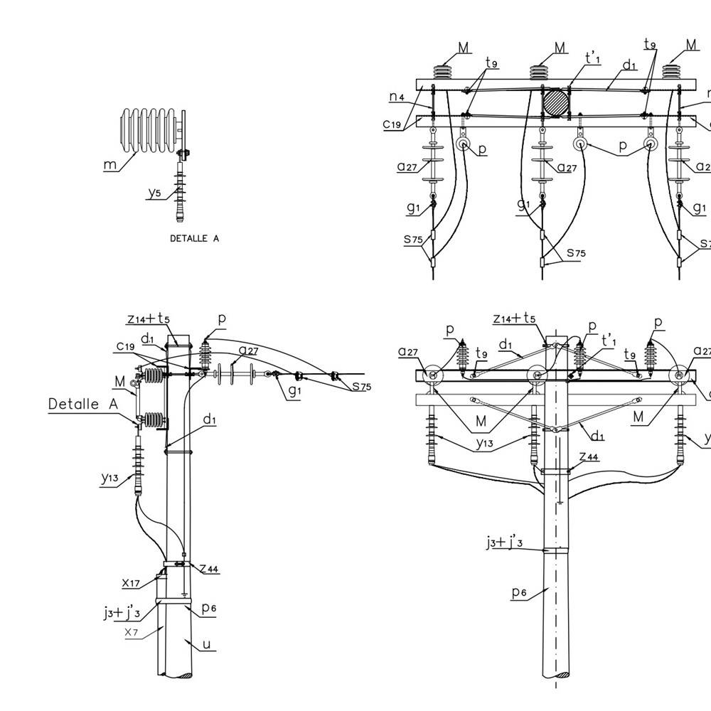
LISTA DE MATERIALES
SÍMB. | CANT. | CÓDIGO | ESP. TÉCNICA | DESCRIPCIÓN |
a27 | 3 | 300013 | GSCC010 | Aislador de suspensión polimérico 24 kV |
c19 | 2 | 251506 | ET-419 | Cruceta metálica de 2,5 m |
d1 | 4 | 240083 | ET-405 | Diagonal metálica en varilla tipo 1 |
g1 | 3 | 251359 | ET-350 | Grapa terminal tipo recto para cables entre 3/0 AWG – 266,8 kcmil |
j3 | 2 | 780182 | ET-450 | Metros de cinta de acero inoxidable 5/8”x 0,03” |
j´3 | 2 | 780351 | ET-450 | Hebilla de acero inoxidable 5/8” |
M | 3 | 140995 | E-MT-006 | Seccionador monopolar 15 kV |
n4 | 3 | 201020 | ET-461 | Perno de ojo tipo 4 (5/8” x 400 mm) |
P | 3 | 170892 | GSCC016 | DPS - Descargadores de sobretensión de óxido metálico 12 kV 10 A |
p | 1 | 230052 | GSS002 | Poste de concreto de 12 m 1350 kg (1) |
s75 | 6 | 274320 | ET-356 | Conector tipo cuña P=95 D=70mm² o 4/0-2/0AWG (2) |
t’1 | 1 | 251386 | ET-455 | Espárrago 5/8" x 12" |
t5 | 2 | 251363 | ET-456 | Tornillo de carruaje 5/8" x 1 1/2" |
t9 | 4 | 274482 | ET-457 | Tornillo de acero galvanizado 5/8" x 2" |
u | 1 | 201150 | ET-492 | Accesorios para puesta a tierra |
x7 | 6 | 163157 | ET-601 | Metros de tubo galvanizado 4" (3) |
x17 | 2 |
| ET-604 | Boquilla galvanizada 4" (3) |
y5 | 3 | 274585 | GSCC005 | Terminal exterior 24 kV 35-95 mm2 (4) |
| 1 | 250002 | ET-495 | Elemento de sujeción cable MT aislado a poste |
z14 | 1 | 274311 | ET-432 | Abrazadera de dos salidas tipo 4, 200 mm (5) |
ALTERNATIVAS:
(1) Poste metálico (GSS003) o Poste de Fibra (GSS005).
(2) El conector que aparece en la lista es una referencia, consulte la ET-356 para su selección adecuada.
(3) Dependiendo del calibre del conductor de 15kV o si hace parte del circuito principal se utilizará ducto de 6”
(4) Los terminales contraíbles en frio para uso exterior que aparecen en la lista son una referencia, consulte la Especificación Técnica ( GSCC005 ) para su adecuada selección
(5) La abrazadera que aparece en la lista es una referencia, consulte la ET-432 para su selección adecuada.
NOTAS:
- El terminal contraíble en frio para uso exterior (GSCC005) incluye el conector terminal de compresión tipo pala con una perforación M12 para el apantallamiento.
- En caso de requerir templete existen las siguientes opciones: LA411, LA413, LA415 y LA419..
DATOS ADICIONALES
Revisión #
5
Fecha de entrada en vigencia
Actividad de los usuarios
Para hacer comentarios debe iniciar sesión o registrarse aquí