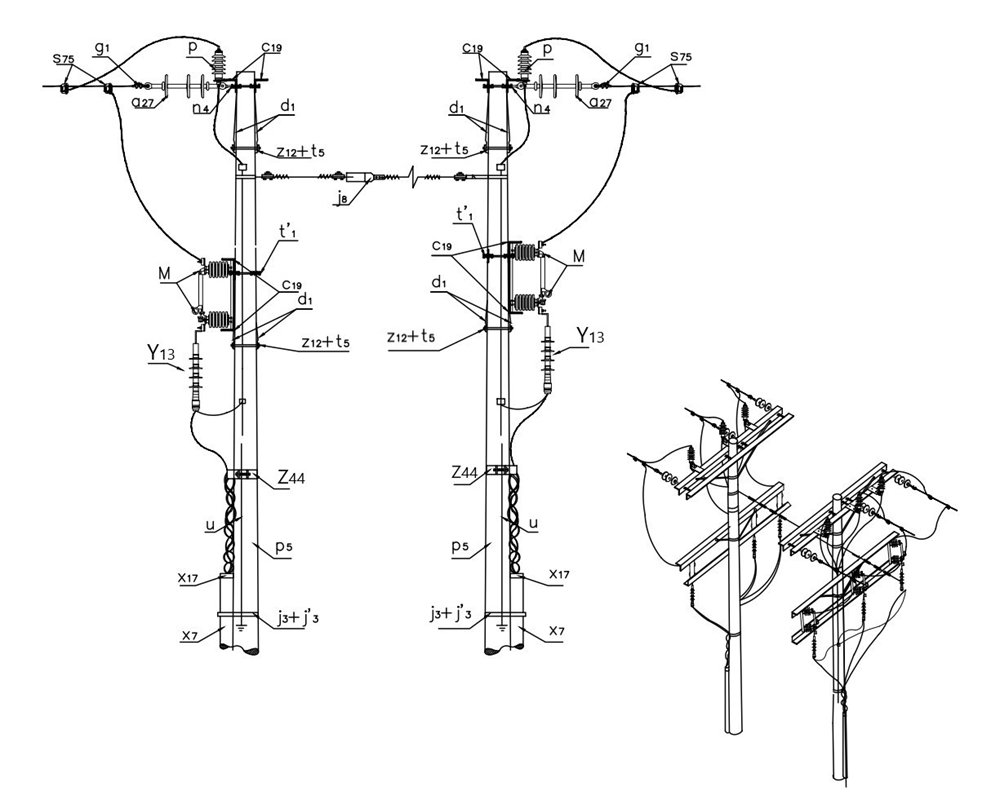
LA219 Circuito primario sencillo entrada y salida subterránea para una subestación
- Contenido

LISTA DE MATERIALES
| SÍMB. | CANT. | CÓDIGO | ESP. TECNICA | DESCRIPCIÓN |
| a 27 | 6 | 300546 | GSCC010/01 | Aislador de suspensión polimérico 24 kV |
| c 19 | 8 | ET-419 | Cruceta metálica de 2,5 m | |
| d 1 | 16 | 240083 | ET-405 | Diagonal metálica en varilla tipo 1 |
| g 1 | 6 | 251359 | ET-350 | Grapa terminal tipo recto para cables entre 3/0 AWG – 266,8 kcmil |
| j 3 | 4 | 780182 | ET-450 | Metros de cinta de acero inoxidable 5/8”x 0,03” |
| j´ 3 | 4 | 780351 | ET-450 | Hebilla de acero inoxidable 5/8” |
| j 8 | 1 | Templete (1)(2) | ||
| M | 6 | 6762301 | E-MT-006 | Seccionador monopolar 400 A 15 kV tipo cuchilla |
| n 4 | 6 | 201020 | ET-461 | Perno de ojo tipo 4 (5/8” x 400 mm) |
| P | 6 | 170892 | GSCC016 | DPS - Descargadores de sobretensión de óxido metálico 12 kV 10 A |
| p 5 | 2 | 230957 | GSS002/44 | Poste de concreto de 12 m 750 kg (3) |
| s 75 | 12 | 274320 | ET-356 | Conector tipo cuña P=95 D=70mm² o 4/0-2/0AWG (4) |
| t’ 1 | 8 | 251386 | ET-455 | Espárrago 5/8" x 12" |
| t 5 | 8 | 251363 | ET-456 | Tornillo de carruaje 5/8" x 1 1/2" |
| t 9 | 16 | 274482 | ET-457 | Tornillo de acero galvanizado 5/8" x 2" |
| u | 2 | ET-492 | Accesorios para puesta a tierra | |
| x 7 | 12 | 6762440 | ET-601 | Metros de tubo galvanizado 4" (5) |
| x 17 | 4 | ET-604 | Boquilla galvanizada 4" (5) | |
| y 13 | 3 | 274587 | GSCC005 | Terminal tipo exterior pala 95 – 240 mm^2 12/20(24) kV (6) |
| z 44 | 1 | 250002 | ET-495 | Elementos de sujeción de cable MT aislado tripolar a poste |
| z 12 | 4 | 274295 | ET-432 | Abrazadera de dos salidas tipo 2, 140 mm (7) |
ALTERNATIVAS:
(1) Templete según se requiera, existen las siguientes opciones: LA 411 , LA 413 , LA 415 y LA 419 .
(2) En caso de no poder instalar templete utilizar poste con una carga mayor a 1350Kg.
(3) Poste metálico ( ET-208 ) o Poste de Fibra ( ET-205 ).
(4) El conector que aparece en la lista es una referencia, consulte la ET-356 para su selección adecuada.
(5) Dependiendo del calibre del conductor de 15kV o si hace parte del circuito principal se utilizará ducto de 6”
(6) Los terminales contraíbles en frio para uso exterior que aparecen en la lista son una referencia, consulte la Especificación Técnica ( GSCC005 ) para su adecuada selección.
(7) La abrazadera que aparece en la lista es una referencia, consulte la ET-432 para su selección adecuada.
NOTAS:
- La distancia “d” entre los postes depende de la distancia entre cajas de inspección a la salida de la subestación.
- La pantalla metálica de los cables de M.T. debe ser aterrizada en uno solo de los extremos del cable , para evitar corrientes circulantes.
- El terminal contraíble en frio para uso exterior ( GSCC005 ) incluye el conector terminal de compresión, el terminal de compresión tipo pala con una perforación M 12 para el apantallamiento
DATOS ADICIONALES
Revisión #
5
Fecha de entrada en vigencia
Actividad de los usuarios
Para hacer comentarios debe iniciar sesión o registrarse aquí