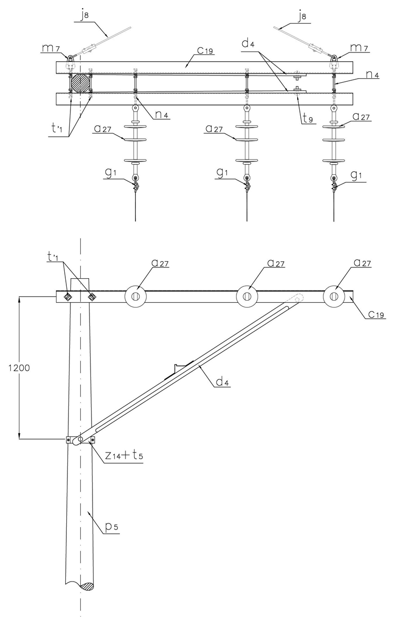
LA212 Final de circuito primario sencillo construcción tipo bandera (Cruceta 2,5m)
- Contenido

LISTA DE MATERIALES
| SÍMB. | CANT. | CÓDIGO | ESP. TECNICA | DESCRIPCIÓN |
| a 27 | 3 | 300546 | GSCC010/01 | Aislador de suspensión polimérico 24 kV |
| c 19 | 2 | ET-419 | Cruceta metálica de 2,5 m | |
| d 4 | 2 | 240080 | ET-406 | Diagonal metálica en ángulo tipo 3 |
| g 1 | 3 | 251359 | ET-350 | Grapa terminal tipo recto para cables entre 3/0 AWG – 266,8 kcmil |
| j 8 | 2 | Templete (1)(2) | ||
| m 7 | 2 | 251362 | ET-454 | Tuerca de ojo alargado 5/8” |
| n 4 | 3 | 201020 | ET-461 | Perno de ojo tipo 4 (5/8” x 400 mm) |
| p 6 | 1 | 230966 | GSS002/45 | Poste de concreto de 12 m 1 050 kg (3) |
| t’ 1 | 2 | 251386 | ET-455 | Espárrago 5/8" x 12" |
| t 5 | 2 | 251363 | ET-456 | Tornillo de carruaje 5/8" x 1 1/2" |
| t 9 | 2 | 274482 | ET-457 | Tornillo de acero galvanizado 5/8" x 2" |
| z 14 | 1 | 274311 | ET-432 | Abrazadera de dos salidas tipo 4, 200 mm (4) |
ALTERNATIVAS:
(1) Templete según se requiera, existen las siguientes opciones: LA 411 , LA 413 , LA 415 y LA 419 .
(2) En caso de no poder instalar templete utilizar poste con una carga mayor a 1350Kg.
(3) Poste metálico ( ET-208 ) o Poste de Fibra ( ET-205 ).
(4) La abrazadera que aparece en la lista es una referencia, consulte la ET-432 para su selección adecuada.
DATOS ADICIONALES
Revisión #
3
Fecha de entrada en vigencia
Actividad de los usuarios
Para hacer comentarios debe iniciar sesión o registrarse aquí