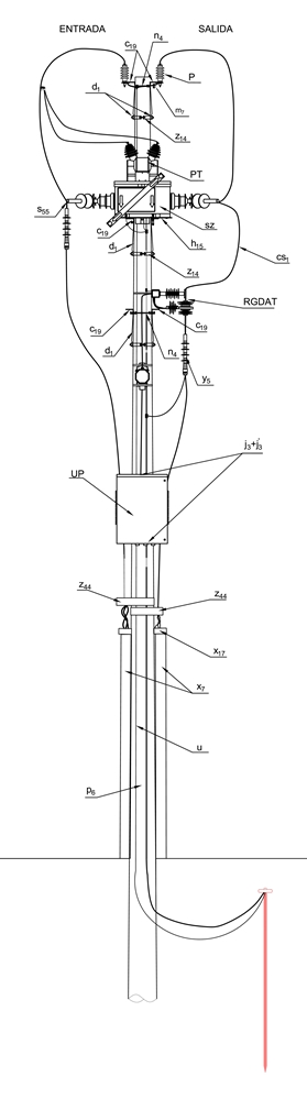
LA515-3 Red 11,4 kV o 13,2 kV Montaje de seccionalizador (SZ) central. Afloramientos fuente y carga
- Contenido
.jpg)
figura 1. Vista frontal
.jpg)
figura 2. Vista isométrica
.jpg)
figura 3. Vista lateral
LISTADO DE MATERIALES
| SÍMB. | CANT. | CÓDIGO | ESP. TÉCNICA | DESCRIPCIÓN |
| c 19 | 2 | 251506 | ET419 | Cruceta metálica de 2,5 m |
| cs 1 | 15 | 330620 | ET103 | Cable semiaislado AAAC 100 mm 2 15 kV |
| d 1 | 4 | 240083 | ET405 | Diagonal metálica en varilla tipo 1 |
| j 3 | 1 | 780182 | ET450 | Cinta en Acero inoxidable 5/8 " x 30,48 m |
| j´ 3 | 2 | 780351 | ET450 | Hebilla 5/8" de Acero Inoxidable |
| n 5 | 3 | 201013 | ET461 | Perno de ojo tipo 5 ( 5/8 ” x 545 mm) |
| o 45 | 2 | 310418 | ET121 | Metros de cable desnudo de cobre calibre 4 AWG |
| P | 6 | 170892 | GSCC016 | DPS- Descargador de sobretensión de óxido metálico 12 kV, 10 kA |
| PT | 1 | 531271 | GSCT004 | 11.4-13.2 kV |
| p 6 | 1 | 230966 | GSS002 | Poste Concreto 12 m 1 050 kgf |
| RGDAT | 1 | 510341 | Detector de Corrientes de Falla y Ausencia de Tensión para redes de media tensión RGDAT exterior | |
| s 55 | 6 | ET302 | Conector bimetálico terminal de compresión tipo pala1 hueco M16, 4/0AWG. | |
| UP | 1 | 163303 | Unidad Periférica, Tipo Exterior | |
| u 1 | 1 | 201147 | ET492 | Kit de puesta a tierra MT en acero |
| x 7 | 6 | 6762440 | ET601 | Metros de tubo galvanizado 4" (1) |
| x 17 | 1 | ET604 | Boquilla galvanizada 4" (1) | |
| y 1 | 6 | 274585 | GSCC005 | Exterior 35 - 95 mm 2 12/20(24) kV |
| z 14 | 1 | 274311 | ET432 | Abrazadera de dos salidas tipo 4 – 200 mm |
ALTERNATIVAS:
(1) Tubo y accesorios de 6”.
NOTAS:
- Deben cumplirse las distancias en poste de la norma LA015 .
- En caso de presencia de red abierta de baja tensión debe cambiarse a red trenzada.
- En este poste no se permite la instalación de fuentes, amplificadores y otros equipos de Telemáticos.
- En caso que no se cumplan las distancias de seguridad en vertical debe cambiarse el poste por uno de 14 m o instalarse el equipo en un poste cercano.
- El PT (Transformador de Potencial), debe entregar a la salida la tensión de alimentación de la UP, Unidad Periférica.
- El PT (Transformador de Potencial), debe energizarse del lado de la fuente.
- El RGDAT (Rivelatore di Guasto Direzionale e Di Assenza Tensione), debe conectarse del lado de carga .
- El sistema de puesta a tierra debe diseñarse, instalarse y verificarse de acuerdo a las normas LA400 y LAR400 .
- Utilizar amarres plásticos para fijar al soporte de la RGDAT el ducto flexible que sale desde cada sensor a la caja de conexiones.
- El diagrama de detalle del SPT se encuentra en la ET492 .
DATOS ADICIONALES
Revisión #
1
Fecha de entrada en vigencia
Actividad de los usuarios
Para hacer comentarios debe iniciar sesión o registrarse aquí