LA510 Linea 13,2 – 11,4 kV montaje de reconectador
- Contenido
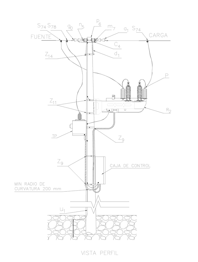
MONTAJE DE RECONECTADOR SIN BY-PASS


LISTADO DE MATERIALES
| SÍMB. | CANT. | CÓDIGO | ESP. TÉCNICA | DESCRIPCIÓN |
| a 1 | 6 | 300013 | GSCC010 | Aislador Suspensión Compuesto 24 kV |
| c 4 | 2 | 251506 | ET419 | Cruceta metálica de 2,5 m |
| d 1 | 4 | 240083 | ET405 | Diagonal metálica en varilla tipo 1 |
| g 0 | 6 | 251378 | ET350 | Grapa terminal tipo recta para cables entre 25-63 mm² |
| m 7 | 3 | 251362 | ET454 | Tuerca de ojo alargada 5/8” |
| n 5 | 3 | 201013 | ET461 | Perno de ojo tipo 5 ( 5/8” x 545 mm) |
| o 45 | 10 | 310418 | ET121 | Metros de cable desnudo de cobre calibre 4 AWG |
| 7 | 330608 | GSCC028 | Cable multiconductor 2x12 AWG | |
| P | 6 | 170892 | GSCC016 | DPS- Descargador de sobretensión de óxido metálico 12 kV, 10 kA |
| p 6 | 1 | 230966 | GSS002 | Poste Concreto 12 m, 1050 kg |
| R 2 | 1 | 141002 | E-MT-004 | Reconectador (13,2 / 11,4 kV) |
| s 74 | 6 | 274318 | ET356 | Conector tipo cuña P=120 D120 mm² o 4/0-4/0 AWG |
| s 78 | 2 | 274332 | ET356 | Conector tipo cuña P=95 D=25 mm²(4/0 AWG /4 AWG) |
| t 2 | 2 | 251375 | ET455 | Espárrago de 16 x 508 mm (5/8" x 20") |
| t 5 | 10 | 251363 | ET456 | Tornillo de carruaje 5/8” x 1 1/2” |
| t 10 | 14 | 251364 | ET457 | Tornillo de acero galvanizado 5/8” x 5” |
| t 12 | 4 | 251552 | ET457 | Tornillo de acero galvanizado 5/8" x 10" |
| t 15 | 10 | 251377 | ET457 | Tornillo de acero galvanizado 1/2" x 6" |
| TP | 1 | ET923 | Transformador de potencial | |
| u 1 | 1 | 200290 | ET492 | Kit puesta a tierra MT en acero inoxidable |
| Z 9 | 3 | 274300 | ET431 | Abrazadera de una salida tipo 4 – 200 mm |
| Z 11 | 2 | 274415 | ET438 | Abrazadera 1 salida, 3" x 1/4" 200 mm |
| Z 14 | 1 | 274311 | ET432 | Abrazadera de dos salidas tipo 4 – 200 mm |
| 35 | 330015 | GSCC021 | Cable semiaislado AAC 95 mm2 15 kV | |
| 8 | 274331 | ET356 | Cartucho azul para herramienta de Cuña |
MONTAJE DE RECONECTADOR CON SECCIONADORES MONOPOLARES PARA ENTRADA - SALIDA Y BY - PASS


LISTADO DE MATERIALES
| SÍMB. | CANT. | CÓDIGO SAP | ESP. TÉCNICA | DESCRIPCIÓN |
| a 1 | 6 | 300013 | GSCC010 | Aislador Suspensión Compuesto 24 kV |
| c 4 | 6 | 251506 | ET419 | Cruceta metálica de 2,5 m |
| d 1 | 12 | 240083 | ET405 | Diagonal metálica en varilla tipo 1 |
| g 0 | 6 | 251378 | ET350 | Grapa terminal tipo recta para cables entre 25-63 mm² |
| M | 9 | 140995 | E-MT-006 | Seccionador monopolar 400 A 15 kV tipo cuchilla |
| m 7 | 3 | 251362 | ET454 | Tuerca de ojo alargada 5/8” |
| n 5 | 3 | 201013 | ET461 | Perno de ojo tipo 5 ( 5/8 x 545 mm) |
| o 45 | 25 | 310418 | ET121 | Metros de cable desnudo de cobre calibre 4 AWG |
| 7 | 330608 | ET119 | Cable multiconductor 2x12 AWG | |
| P | 6 | 170892 | GSCC016 | DPS - Descargadores de sobretensión de óxido metálico 12 kV 10 kA |
| p 6 | 1 | 230966 | GSS002 | Poste Concreto 12 m, 1050 kgf |
| R 2 | 1 | 141002 | E-MT-004 | Reconectador (13.2 / 11.4 kV) |
| s 74 | 12 | 274318 | ET356 | Conector tipo cuña P=120 D120 mm² o 4/0-4/0 AWG |
| s 78 | 2 | 274332 | ET356 | Conector tipo cuña P=95 D=25 mm²(4/0 AWG /4 AWG) |
| t 2 | 2 | 251375 | ET455 | Espárrago de 16 x 508 mm (5/8" x 20") |
| t 5 | 14 | 251363 | ET456 | Tornillo de carruaje 5/8” x 1 1/2” |
| t 10 | 12 | 251364 | ET457 | Tornillo de acero galvanizado 5/8” x 5” |
| t 12 | 4 | 251552 | ET457 | Tornillo de acero galvanizado 5/8" x 10" |
| t 15 | 10 | 251377 | ET457 | Tornillo de acero galvanizado 1/2" x 6" |
| TP | 1 | ET923 | Transformador de potencial | |
| u 1 | 1 | 200290 | ET492 | Kit puesta a tierra MT en acero inoxidable |
| Z 9 | 4 | 274300 | ET431 | Abrazadera de una salida tipo 4 – 200 mm |
| Z 11 | 2 | 274415 | ET438 | Abrazadera 1 salida, 3" x 1/4" 200 mm |
| Z 14 | 1 | 274311 | ET432 | Abrazadera de dos salidas tipo 4 – 200 mm |
| Z 15 | 1 | 274310 | ET432 | Abrazadera de dos salidas tipo 5 - 250 mm |
| 35 | 330015 | GSCC021 | Cable semiaislado AAC 95 mm2 15 kV | |
| 14 | 274331 | ET356 | Cartucho azul para herramienta de Cuña |
NOTAS:
- Todos los terminales de tierra (reconectador, tablero de control, descargadores de sobre tensión y el TP) deben ser conectados y aterrizados a un mismo punto.
- Los descargadores de sobretensiones para líneas de 11,4 kV y 13,2 kV serán de óxido metálico 12 kV, 10 kA.
- Para 13,2 kV, la relación de transformación del TP es 13,2 kV – 120 V según tensión de la red.
- El TP debe energizarse del lado de la fuente.
- Se debe hacer la verificación del sistema de puesta a tierra, siguiendo las recomendaciones de la LA400 y LAR400
- Se recomienda usar el kit de puesta a tierra indicado en el numeral 6.7 Accesorios para instalación de la puesta a tierra de Reconectador LA510, indicado en la especificación ET492. El código es 200290 sistema de puesta a tierra de Reconectador ET492.
RECOMENDACIONES DEL FABRICANTE “NOJA” PARA SU INSTALACIÓN:
- Garantizar la estanqueidad IP65 de la caja de control manteniendo los empaques y utilizando prensaestopas en los cables de alimentación.
- Mantener cerrada la puerta de la caja de control para evitar ingreso de agua que afecte los componentes.
- Emplear filtros de RFI tipo ferritas en acopladores ópticos en los cables de comunicación. El cable debe ser apantallado y aterrizado en un solo extremo, es decir, en el Reconectador.
- El conductor de cobre para puesta a tierra debe ser mínimo 35 mm 2 (2 AWG).
- La resistencia de puesta a tierra debe ser menor a 10 Ohmios.
- El conductor para puesta a tierra de la caja de control debe ser lo más corta y firme posible (menor a 1,5 m). No se aceptan empalmes en los conductores.
- Debe existir una distancia mínima de 20 cm entre el cable de control y el conductor de puesta a tierra. En lo posible por lados opuestos debe asegurarse el cable de control al poste.
- Cuando el punto de aterrizaje no tenga conector, se utilizará borne terminal tipo ojo o conector adecuado. No se aceptan conexiones entorchadas.
DATOS ADICIONALES
Revisión #
1
Fecha de entrada en vigencia
Actividad de los usuarios
Para hacer comentarios debe iniciar sesión o registrarse aquí