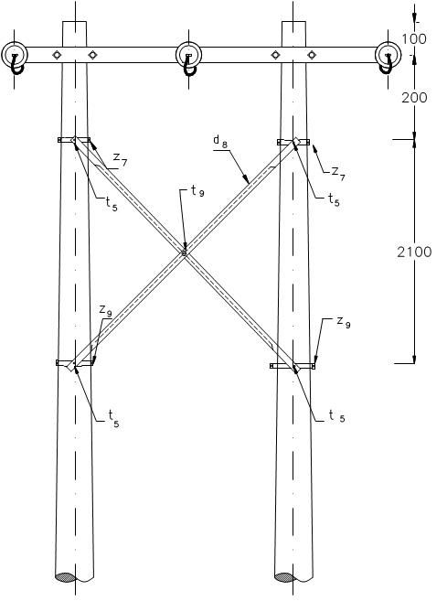
LAR415 Montaje de diagonales para arriostramiento
- Contenido
LISTA DE MATERIALES
| SÍMB. | CANT. | CÓDIGO SAP | ESP. TÉCNICA | DESCRIPCIÓN |
| d 8 | 2 | ET407 | Diagonales para arriostramiento | |
| t 5 | 4 | 6762212 | ET456 | Tornillo de carruaje 5/8” x 1 ½” |
| t 9 | 1 | ET457 | Tornillo de acero galvanizado 5/8” x 2” | |
| z 7 | 2 | 6762235 | ET431 | Abrazadera de una salida tipo 2 |
| z 9 | 2 | 6762237 | ET431 | Abrazadera de una salida tipo 4 |
- Las diagonales para arriostramiento se deben utilizar en estructuras de ángulo y retención de dos postes cuando se encuentra muy cerca de los límites de utilización de la estructura.
DATOS ADICIONALES
Revisión #
1
Fecha de entrada en vigencia
Actividad de los usuarios
Para hacer comentarios debe iniciar sesión o registrarse aquí