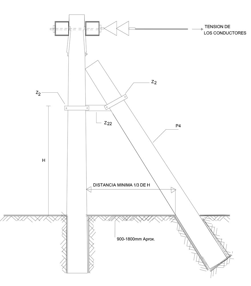
LAR414 Retenida pie de amigo
- Contenido
LISTA DE MATERIALES
| SÍMB. | CANT. | CÓDIGO SAP | ESP. TÉCNICA | DESCRIPCIÓN |
| p 4 | 1 | 6762451 | ET201 | Poste de concreto 12 m , 510 kg (1) |
| z 2 | 2 | 6762501 | ET433 | Abrazadera sin salida tipo 2 |
| z 22 | 1 | Platina de dos ojales 60 mm x 30 mm |
(1) Si la estructura es en poste de madera, utilizar poste de madera liviano de altura igual al que se esta reteniendo.
DATOS ADICIONALES
Revisión #
1
Fecha de entrada en vigencia
Actividad de los usuarios
Para hacer comentarios debe iniciar sesión o registrarse aquí