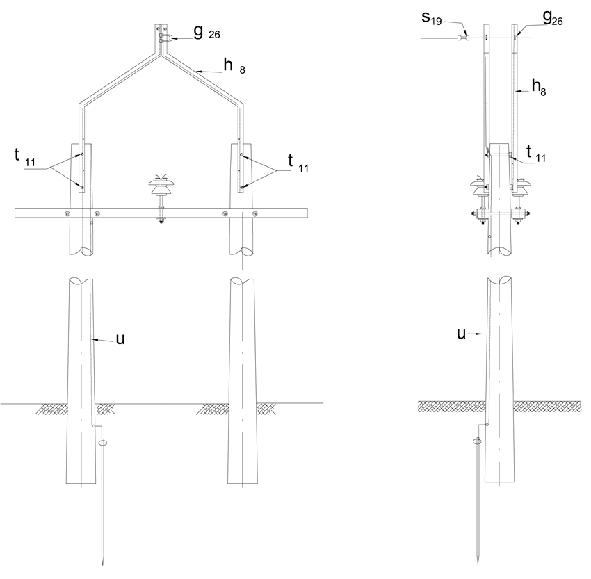
LAR408 Montaje de cable de guarda en estructuras de ángulo en h
- Contenido
LISTA DE MATERIALES
| SÍMB. | CANT. | CÓDIGO SAP | ESP. TÉCNICA | DESCRIPCIÓN |
| h 8 | 2 | 6804640 | ET411 | Bayoneta para doble poste 3” x 3” x ¼” x 1540 mm |
| s 19 | 1 | 6762145 | ET303 | Conector de compresión de ranuras paralelas |
| t 11 | 4 | 6762592 | ET457 | Tornillo de acero galvanizado 5/8” x 8” |
| u | 1 | Accesorios para puesta a tierra | ||
| g 9 | 2 | 6762903 6762704 | ET465 | Grapa tipo grillete |
- El uso de esta bayoneta o de la bayoneta en un solo poste depende del proyecto específico.
DATOS ADICIONALES
Revisión #
2
Fecha de entrada en vigencia
Actividad de los usuarios
Para hacer comentarios debe iniciar sesión o registrarse aquí