LAR404 Montaje de cable de guarda en estructuras de alineamiento
- Contenido
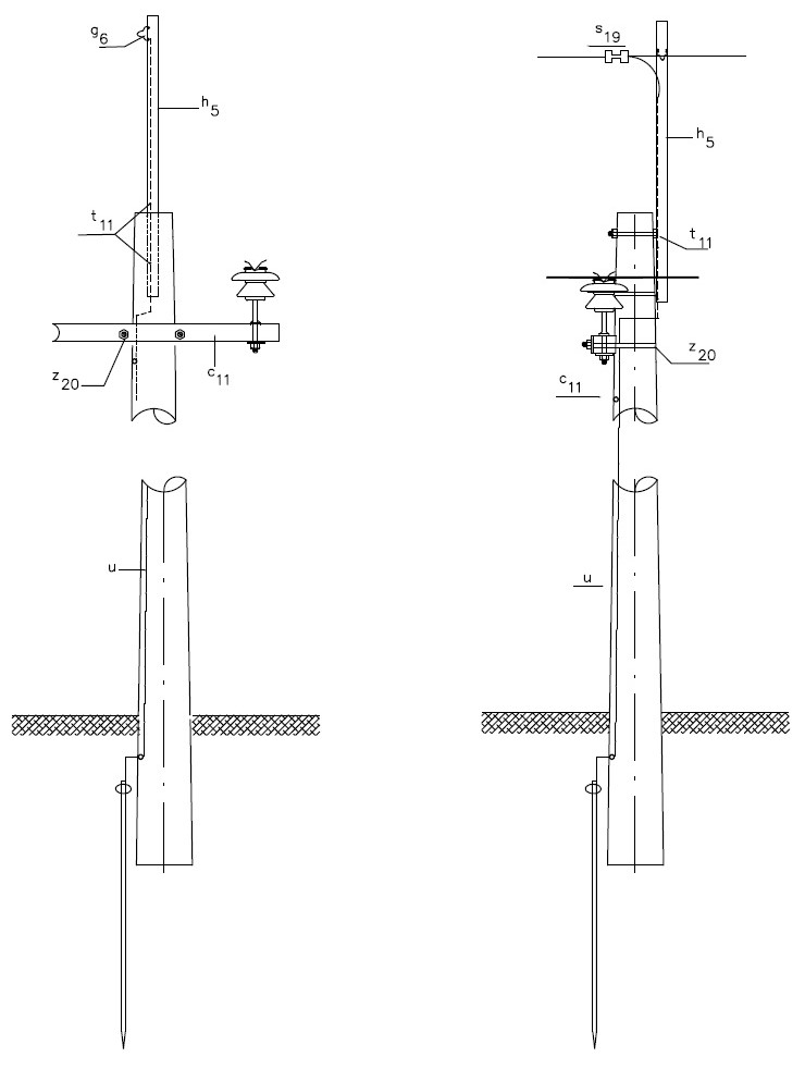
FIGURA 1
LISTA DE MATERIALES
| SÍMB. | CANT. | CÓDIGO SAP | ESP. TÉCNICA | DESCRIPCIÓN |
| g 6 | 1 | 6762903 6762704 | ET465 | Grapa tipo grillete |
| h 5 | 1 | 6762508 | ET430 | Herraje para soporte de seccionador de B.T. de 160 A |
| s 19 | 1 | 6762145 | ET303 | Conector de compresión de ranuras paralelas (1) |
| t 11 | 2 | 6762251 | ET457 | Tornillo de acero galvanizado 5/8” x 8” |
| u | 1 | Accesorios para puesta a tierra |
(1) El conector que aparece en el listado es una referencia, consultar la ET303 para su selección adecuada.
DATOS ADICIONALES
Revisión #
3
Fecha de entrada en vigencia
Actividad de los usuarios
Para hacer comentarios debe iniciar sesión o registrarse aquí