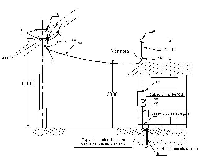
LAR309 Acometida aérea
- Contenido
LISTA DE MATERIALES
| SÍMB. | CANT. | CÓDIGO SAP | ESP. TÉCNICA | DESCRIPCIÓN |
| a 3 | 2 | 6762120 | Aislador tipo carrete ANSI 53-3 | |
| e 1 | 2 | Estribo para baja tensión ( 5 ) | ||
| EB 0 | 1,5 | ET-610 | Metros de tuberia PVC tipo liviano de 1/2" | |
| f 3 | 1 | ET-490 | Conector para varilla a tierra 5/8" | |
| g 12 | 1 | Grapa para sujetar acometida | ||
| h 1 | 1 | 6762323 | ET-468 | Tensor de acometidas |
| j 3 | 2 | 6762433 | ET-450 | Metros de cinta de acero inoxidable de 5/8”x 0,03” |
| j` 3 | 2 | 6764362 | ET-450 | Hebilla de acero inoxidable de 5/8” |
| k 20 | 1 | 6762401 | ET420 | Soporte para anclaje de acometida |
| o 53 | 12 | Metros de cable de cobre aislado con neutro concéntrico 600 V 2 x 8 AWG | ||
| o 35 | 2 | ET-121 | Metros de alambre de cobre calibre 8 AWG | |
| r 5 | 2 | 6762220 | ET-417 | Percha porta aislador de un puesto |
| s 110 | 2 | ET-356 | Conector tipo cuña para acometidas de B.T. 4-8 AWG (Nota 5) | |
| t 11 | 2 | 6762251 | ET-457 | Tornillo de acero galvanizado 5/8” x 8” |
| f 2 | 1 | 6762280 | ET-490 | Varilla de puesta a tierra 5/8" x 2,44 m |
| x 9 | 1,5 | 6762233 | ET-601 | Metros de tubo metálico galvanizado tipo IMC o Rigid (mínimo ¾ ") |
| x 11 | 1 | 6762482 | Boquilla galvanizada (diámetro de acuerdo al tubo) | |
| x 21 | 1 | 6762484 | ET-605 | Capacete galvanizado (diámetro de acuerdo al tubo) |
| y 60 | 1 | Boquilla en PVC de 1/2" |
1- Altura mínima de la acometida sobre nivel de piso:
- En puntos de retención o hasta la parte inferior de la curva de goteo: 3000 mm
- En vías residenciales y comerciales sin tráfico de vehículos de carga: 3600 mm
- En vías con tráfico pesado: 5500 mm
2- Para la ubicación de las cajas de medidores, se tomará como altura de referencia entre 1,5 y 1,7 m para el visor del medidor mas alto.
Si la parte inferior de la caja queda ubicada a una altura menor a 80 cm, se podrá adicionar una reja metálica frontal para protección contra impacto.
3- La caja de medidor con puerta plana monofásica es para empotrar y la caja de medidor con tapa removible monofásica se instalará sobrepuesta en poste o parcialmente empotrada.
4- Las cajas deben instalarse empotradas; en caso que se autorice su instalación sobrepuesta deberá tener protección contra lluvia.
5- El calibre de la acometida depende de la carga.
6- En caso de que la conexión a tierra no sea empotrada, debe ir en ducto galvanizado.
7- En los casos que el poste de derivación de acometida no lo tengan, se adicionará un estribo (e 2 ) y un conector (s 110 ).
DATOS ADICIONALES
Revisión #
3
Fecha de entrada en vigencia
Actividad de los usuarios
Para hacer comentarios debe iniciar sesión o registrarse aquí