LAR296 Línea rural 13,2 – 11,4 kV estructura terminal bifilar en H
- Contenido
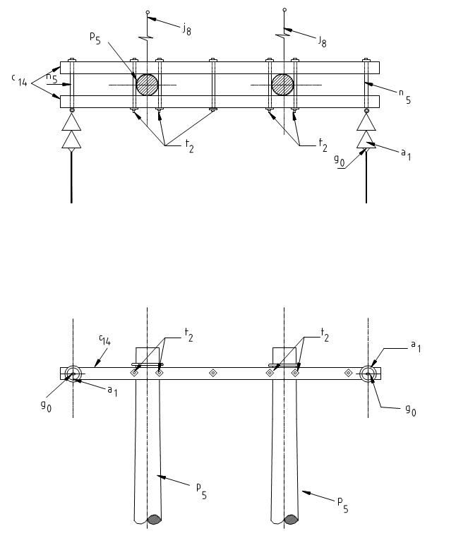
LISTA DE MATERIALES
| SÍMB. | CANT. | CÓDIGO | ESP. TÉCNICA | DESCRIPCIÓN |
| a 1 | 4 | 300013 | GSCC010 | Aislador Suspensión Compuesto 24 kV |
| c 14 | 2 | 251508 | ET419 | Cruceta metálica de 4 m |
| g 0 | 2 | 6762316 | ET-350 | Grapa terminal tipo recto para cables entre 6 AWG - 3/0 AWG kcmil |
| j 8 | 2 | Templete (2) | ||
| n 5 | 2 | 6762181 | ET-461 | Perno de ojo tipo 5 |
| p 5 | 2 | 230957 | GSS002 | Poste de concreto de 12 m , 750 kg (1) |
| t 2 | 5 | 6762255 | ET-455 | Espárrago de 5/8” x 20” |
ALTERNATIVAS:
(1) Poste de concreto de 12 m , tipo pesado
(2) Según se requiera LAR 412 , LAR 413 , y LAR 414 .
NOTA:
- Vano viento máximo 400 m .
DATOS ADICIONALES
Revisión #
1
Fecha de entrada en vigencia
Actividad de los usuarios
Para hacer comentarios debe iniciar sesión o registrarse aquí