LAR137 Línea rural 34,5 kV estructura de suspensión horizontal con cruceta de seis metros
- Contenido
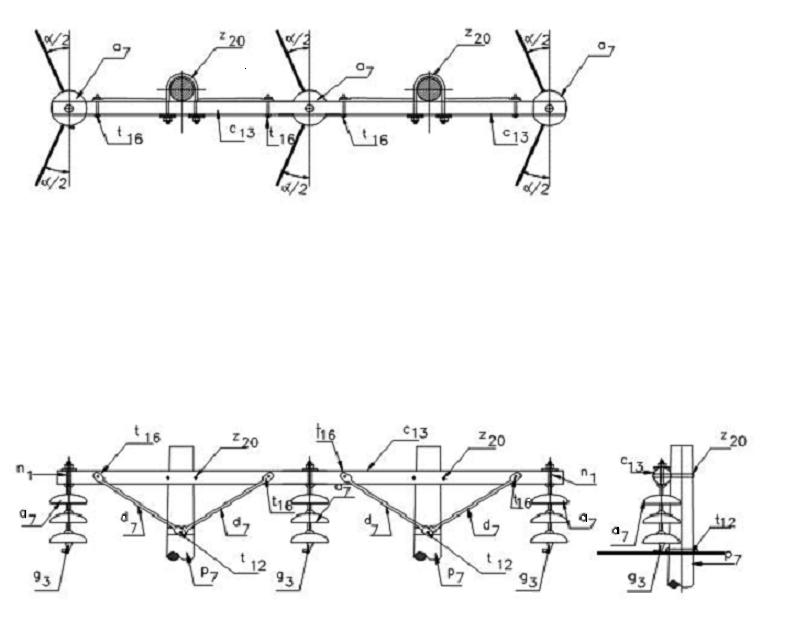
LISTA DE MATERIALES
| SÍMB. | CANT. | CÓDIGO | ESP. TÉCNICA | DESCRIPCIÓN |
| a 7 | 9 | 300011 | GSCC010 | Aislador de suspensión ANSI 52-4 (1) |
| c 13 | 1 | 251504 | ET419 | Cruceta metálica de 6 m |
| d 7 | 4 | ET-405 | Diagonal metálica en varilla tipo 4 (5) | |
| g 3 | 3 | ET-351 | Grapa de suspensión de M.T. | |
| n 1 | 3 | 6762242 | ET-461 | Perno de ojo tipo 1 (5/8" x 203 mm ) (2) |
| p 7 | 2 | 230958 | GSS002 | Poste de concreto 14 m , 750 kg (3) |
| t 12 | 2 | 6762252 | ET-457 | Tornillo de acero galvanizado 5/8" x 10" (4) |
| t 16 | 4 | 6764023 | ET-457 | Tornillo de acero galvanizado 1/2" x 8" |
| z 20 | 2 | 6762202 | ET-436 | Abrazadera en U tipo 2 |
ALTERNATIVAS:
(1) Aislador de suspensión ANSI 52-3.
(2) Tornillo de acero galvanizado t 11 y tuerca de ojo alargado m 7 .
(3) Dos postes de concreto de 14 m tipo liviano.
(4) Dos abrazaderas de una salida z 7 con tornillo de carruaje t 5 .
(5) Solo para conductores 4/0 AWG y 266,8 kcmil.
CURVAS DE UTILIZACIÓN
NOTAS DE UTILIZACIÓN:
- Vano peso máximo 700 m
- Máxima relación de vanos adyacentes 2,5
- Para conductores 4/0 AWG y 266,8 kcmil, postes de concreto 14 m con carga de rotura de 1 050 kg
DATOS ADICIONALES
Revisión #
1
Fecha de entrada en vigencia
Actividad de los usuarios
Para hacer comentarios debe iniciar sesión o registrarse aquí