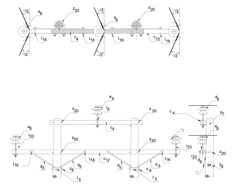
LAR132 Línea rural 34,5 kV estructura en H disposición triangular
- Contenido

LISTA DE MATERIALES
| SÍMB. | CANT. | CÓDIGO | ESP. TÉCNICA | DESCRIPCIÓN |
| a 8 | 3 | 300520 | E-MT-011 | Aislador de pin ANSI 56-3 |
| c 4 | 1 | 251506 | ET-419 | Cruceta metálica de 2,5 m |
| c 12 | 1 | 251508 | ET-419 | Cruceta metálica de 4 m |
| d 5 | 4 | 6762474 | ET-405 | Diagonal metálica en varilla tipo 2 (2) |
| p 7 | 2 | 230958 | GSS002 | Poste de concreto 14 m 750 kg (1) |
| r 8 | 1 | 201014 | ET414 | Porta aislador pasante 34,5 kV |
| r 23 | 2 | 6762427 | ET-415 | Porta aislador goloso para cruceta de madera rolliza 34,5 kV |
| t 5 | 2 | 6762212 | ET-456 | Tornillo de carruaje 5/8" x 1 1/2" |
| t 16 | 4 | 6764023 | ET-457 | Tornillo de acero galvanizado 1/2" x 8" |
| z 8 | 2 | 6762236 | ET-431 | Abrazadera de una salida tipo 3 |
| z 20 | 4 | 6762202 | ET-436 | Abrazadera en U tipo 2 |
ALTERNATIVAS:
(1) Dos postes de concreto de 14 m (liviano).
(2) Solo para conductor 4/0 AWG y 266,8 kcmil.
ASPECTOS DE AISLAMIENTO:
- Utilización en terreno A y B.
- Utilización en terreno tipo B y nivel ceráunico máximo 70
CURVAS DE UTILIZACIÓN
NOTAS DE UTILIZACIÓN:
- Vano peso máximo 1 000 m
- Máxima relación de vanos adyacentes 2,5
DATOS ADICIONALES
Revisión #
2
Fecha de entrada en vigencia
Actividad de los usuarios
Para hacer comentarios debe iniciar sesión o registrarse aquí