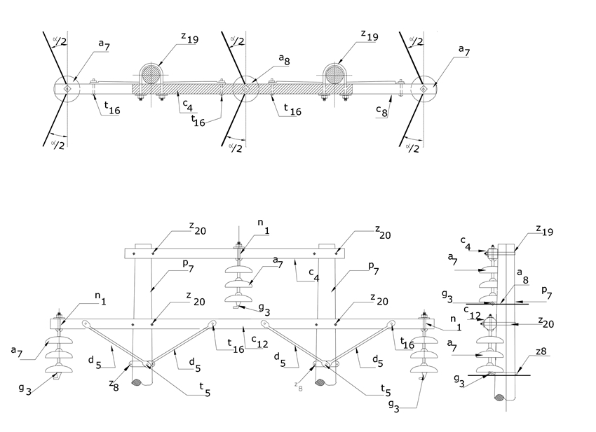
LAR127 Línea rural 34,5 kV estructura en H suspensión triangular
- Contenido

LISTA DE MATERIALES
| SÍMB. | CANT. | CÓDIGO SAP | ESP. TÉCNICA | DESCRIPCIÓN |
| a 7 | 9 | 6762219 | GSCC010 | Aislador de suspensión ANSI 52-4 (1) |
| c 4 | 1 | 251506 | ET-419 | Cruceta metálica de 2,5 m |
| c 12 | 1 | 251508 | ET-419 | Cruceta metálica de 4 m |
| d 5 | 4 | 6762474 | ET-405 | Diagonal metálica en varilla tipo 2 (4) |
| g 3 | 3 | ET-351 | Grapa de suspensión de M.T. | |
| n 1 | 3 | 6762242 | ET-461 | Perno de ojo tipo 1 (5/8" x 203 mm ) (2) |
| p 7 | 2 | 6762453 | ET-201 | Poste de concreto 14 m , 750 kg (3) |
| t 5 | 2 | 6762212 | ET-456 | Tornillo de carruaje 5/8" x 1 1/2" |
| t 16 | 4 | 6764023 | ET-457 | Tornillo de acero galvanizado 1/2" x 8" |
| z 8 | 2 | 6762236 | ET-431 | Abrazadera de una salida tipo 3 |
| z 20 | 4 | 6762202 | ET-436 | Abrazadera en U tipo 2 |
ALTERNATIVAS:
(1) Aislador de suspensión ANSI 52-3
(2) Tornillo de acero galvanizado t 11 y tuerca de ojo m 7 .
(3) Dos postes de madera de 14 m (liviano).
(4) Solo para conductor 4/0 AWG y 266,8 kcmil.
CURVAS DE UTILIZACIÓN
NOTAS DE UTILIZACIÓN:
- Vano Peso máximo 1 000 m
- Máxima relación de vanos adyacentes 2,5
DATOS ADICIONALES
Revisión #
2
Fecha de entrada en vigencia
Actividad de los usuarios
Para hacer comentarios debe iniciar sesión o registrarse aquí