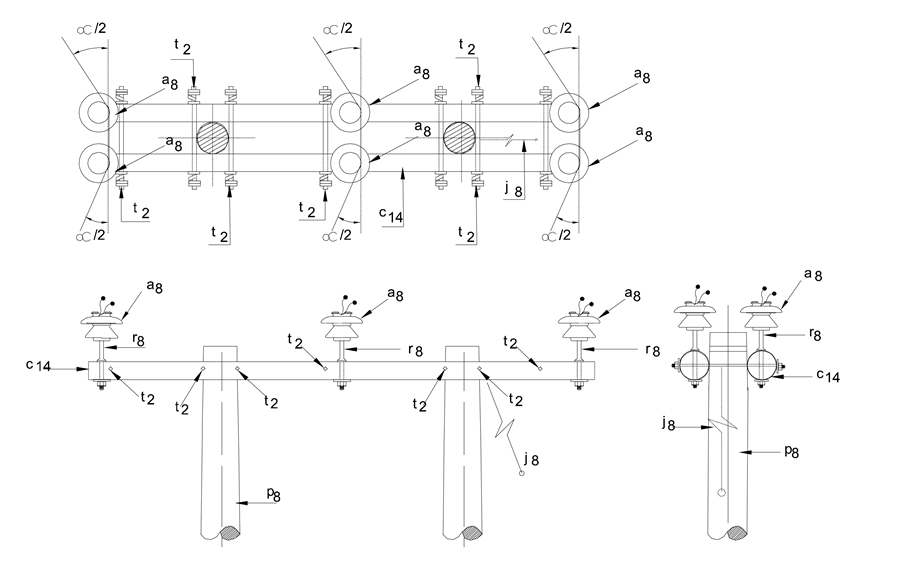
LAR125 Línea rural 34,5 kV estructura en H disposición horizontal para ángulos
- Contenido

LISTA DE MATERIALES
| SÍMB. | CANT. | CÓDIGO SAP | ESP. TÉCNICA | DESCRIPCIÓN |
| a 8 | 6 | 300520 | E-MT-011 | Aislador de pin ANSI 56-3 |
| c 14 | 2 | 251508 | ET-419 | Cruceta metálica de 4 m |
| j 8 | 1 | Templete (1) | ||
| p 8 | 2 | 230960 | GSS002 | Poste de concreto 14 m , 1 050 kg (2) |
| r 8 | 6 | 201073 | ET414 | Porta aislador pasante 34,5 kV (3) |
| t 2 | 7 | 6762255 | ET-455 | Espárrago de 16 x 508 mm (5/8" x 20" ) |
ALTERNATIVAS:
(1) Según se requiera LAR 412 , LAR 413 , LAR 414 y LAR 415
(2) Postes de madera de 14 m (pesado).
(3) Porta aislador goloso para cruceta metálica
CURVAS DE UTILIZACIÓN
NOTAS DE UTILIZACIÓN:
- Vano peso máximo 1 000 m
- Máxima relación de vanos adyacentes 2,5
- Templete inclinado con la vertical 30° y localizado al nivel de la cruceta.
DATOS ADICIONALES
Revisión #
1
Fecha de entrada en vigencia
Actividad de los usuarios
Para hacer comentarios debe iniciar sesión o registrarse aquí