LAR288 Línea rural 13,2 – 11,4 kV - Montaje de seccionador bajo carga telecontrolado en tres postes
- Contenido
%20Mod.jpg)
VISTA SUPERIOR
%20Mod.jpg)
VISTA DE PLANTA
%20Mod.jpg)
LISTADO DE MATERIALES
| SÍMB. | CANT. | CÓDIGOSSAP | ESP. TÉCNICA | DESCRIPCIÓN |
| a 10 | 6 | 300524 | E-MT-011 | Aislador de suspensión polimérico 15 kV |
| c 4 | 2 | 251506 | ET419 | Cruceta metálica de 2,5 m |
| d 1 | 6 | 6762466 | ET405 | Diagonal metálica en varilla tipo 1 |
| g 0 | 6 | 6762316 | ET350 | Grapa terminal tipo recto para cables entre 6 AWG – 3/0 AWG |
| j 3 | 0,5 | 6762433 | ET450 | Cinta en Acero inoxidable 5/8 " x 30,48 m |
| j´ 3 | 2 | 6764362 | ET450 | Hebilla 5/8" de Acero Inoxidable |
| j 8 | 6 | Templete, de acuerdo a LAR410 | ||
| m 7 | 3 | 6762209 | ET454 | Tuerca de ojo alargada 5/8 ” |
| n 2 | 3 | 6764363 | ET461 | Perno de ojo tipo 2 (5/8” x 203 mm ) (2) |
| n 5 | 3 | 6762181 | ET461 | Perno de ojo tipo 5 ( 5/8 ” x 545 mm) |
| o 45 | 4 | 6762340 | ET121 | Metros de cable desnudo de cobre calibre 4 AWG |
| P | 6 | 6781248 | E-MT-031 | DPS- Descargador de sobretensión de óxido metálico 12 kV, 10 kA |
| p 5 | 2 | 230957 | GSS002 | Poste concreto 12 m , 750 kgf ( 1 ) |
| p 6 | 1 | 230966 | GSS002 | Poste Concreto 12 m 1 050 kgf ( 1 ) |
| RGDAT | 1 | 6808357 | Detector de Corrientes de Falla y Ausencia de Tensión para redes de Media Tensión RGDAT exterior | |
| s 50 | 12 | 6784683 | ET302 | Conector bimetálico terminal de compresión tipo pala 1 hueco,4/0AWG |
| s 55 | 6 | ET302 | Conector bimetálico terminal de compresión tipo pala1 hueco M16,4/0AWG. | |
| s 74 | 15 | 6762362 | ET356 | Conector tipo cuña P=120 D120mm ² o 4/0-4/0AWG |
| s 78 | 2 | 6762444 | ET356 | Conector tipo cuña P=95 D=25mm 2 (4/0AWG /4 AWG) |
| t 0 | 2 | ET455 | Espárrago de 16 x 200 mm (5/8" x 8") | |
| t 2 | 2 | 6762255 | ET455 | Espárrago de 16 x 508 mm (5/8" x 20") |
| t 5 | 4 | 6762212 | ET456 | Tornillo de carruaje 5/8” x 1 1/2” |
| t 10 | 14 | 6762213 | ET457 | Tornillo de acero galvanizado 5/8” x 5” |
| t 12 | 4 | 6801240 | ET457 | Tornillo de acero galvanizado 5/8" x 10" |
| t 15 | 10 | 6762299 | ET457 | Tornillo de acero galvanizado 1/2" x 6" |
| UP | 1 | 6808360 | Unidad Periférica, Tipo Exterior | |
| u 1 | 1 | ET492 | Kit de puesta a tierra en acero | |
| z 1 | 0,5 | 6762176 | ET433 | Abrazadera sin salida tipo 4, 200 mm |
| z 8 | 1 | 6762236 | ET431 | Abrazadera de una salida tipo 3, 180 mm |
| z 14 | 1 | 6762313 | ET432 | Abrazadera de dos salidas tipo 4 – 200 mm |
| z 19 | 4 | 6762174 | ET436 | Abrazadera en U tipo 1 |
| z 21 | 2 | 6762175 | ET436 | Abrazadera en U tipo 3, 210 mm |
| 40 | 6779600 | ET103 | Metros de cable AAAC 100 mm 2 semi aislado 15 KV | |
| 17 | 6762416 | ET356 | Cartucho azul para herramienta de Cuña |
ALTERNATIVAS
(1) Poste de fibra, ET205 .
(2) Tornillo de acero galvanizado t 10 y tuerca de ojo m 7 .
NOTAS:
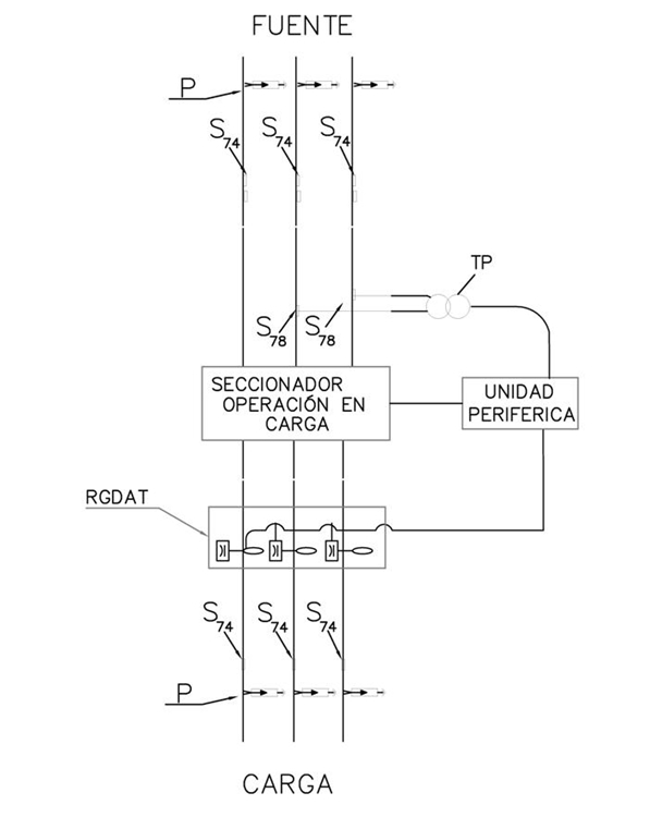
- El TP, Transformador de Potencial, debe entregar a la salida la tensión de alimentación de la UP, Unidad Periférica.
- El TP, Transformador de Potencial, debe energizarse del lado de la fuente.
- El RGDAT, Rivelatore di Guasto Direzionale e Di Assenza Tensione, debe conectarse del lado de carga.
- El sistema de puesta a tierra debe diseñarse, instalarse y verificarse de acuerdo a las normas LA400 y LAR400 .
- Utilizar amarres plásticos para fijar al soporte de la RGDAT el ducto flexible que sale desde cada sensor a la caja de conexiones.
DATOS ADICIONALES
Revisión #
0
Fecha de entrada en vigencia
Actividad de los usuarios
Para hacer comentarios debe iniciar sesión o registrarse aquí