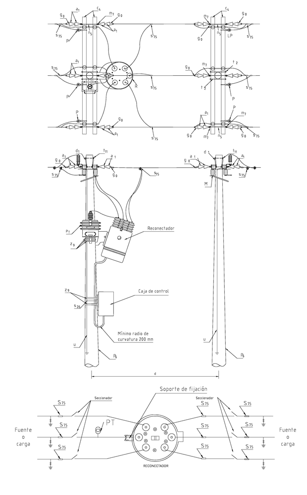
LAR286 Línea rural 13,2 –11,4 kV montaje de reconectador con transformador de potencial
- Contenido

LISTA DE MATERIALES
| SÍMB. | CANT. | CÓDIGO | ESP. TÉCNICA | DESCRIPCIÓN |
| a 1 | 24 | 300013 | GSCC010 | Aislador Suspensión Compuesto 24 kV |
| c 4 | 4 | 251506 | ET419 | Cruceta metálica 2,5 m |
| d 1 | 8 | 6762466 | ET405 | Diagonal metálica en varilla tipo 1 |
| g 0 | 12 | 6762316 | ET350 | Grapa terminal tipo recto, para cables entre 6 AWG -3/0 AWG |
| M | 6 | ET513 | Seccionador monopolar 400 A – 15 kV | |
| m 7 | 6 | 6762209 | ET454 | Tuerca de ojo alargado 5/8" |
| n 5 | 6 | 6762181 | ET461 | Perno de ojo tipo 5 (5/8" x 545 mm ) |
| P | 6 | 6781248 | E-MT-031 | Descargadores de sobretensión de óxido metálico 12 kV 10 kA (Ver notas) |
| p 6 | 2 | 6762467 | GSS002 | Poste de concreto de 12 m , 1 050 kg (1) |
| TP | 1 | Transformador de Potencial 13,2/Ö3 kV – 120 V (ver notas) | ||
| R 2 | 1 | 6764357 | Reconectador ( 13,2 / 11,4 kV ) (ver notas) | |
| s 26 | 5 | ET-304 | Conector tipo tornillo para puesta a tierra | |
| s 75 | 9 | ET356 | Conector tipo cuña 4/0 – 2/0 AWG | |
| t 10 | 8 | 6762213 | ET457 | Tornillo de acero galvanizado 5/8" x 5" |
| t 11 | 2 | 6762251 | ET457 | Tornillo de acero galvanizado 5/8" x 8" (2) |
| t 2 | 4 | 6762255 | ET455 | Espárrago de 16 x 508 mm (5/8" x 20" ) |
| u | 2 | Accesorios para puesta a tierra | ||
| z 9 | 6 | 6762237 | ET431 | Abrazadera de una salida tipo 4 |
ALTERNATIVAS:
(1) Poste Metálico GSS003, Fibra de vidrio, GSS004 de 12 m para zonas de difícil acceso. El poste que aparece en la lista es una referencia, consulte la norma LA010-3-1 para su utilización
(2) Abrazadera de dos salidas z 13 y dos tornillos de carruaje t 5
NOTAS:
- Todos los terminales a tierra (Reconectador y tablero de control) deben ser conectados y aterrizados a un mismo punto
- Los descargadores de sobretensiones para líneas de 11,4 kV y 13.2 kV serán de óxido metálico 12 kV , 10 kA.
- Montaje para reconectador marca Whipp & Bourne, ref: GRV 15/12
- Para 11,4 kV el TP es 11,4/Raiz cuadrada de 3 kV – 120 V
- La distancia “d” ,separación entre postes, debe ser lo más cercana para tener seguridad y control sobre el área de trabajo.
DATOS ADICIONALES
Revisión #
3
Fecha de entrada en vigencia
Actividad de los usuarios
Para hacer comentarios debe iniciar sesión o registrarse aquí