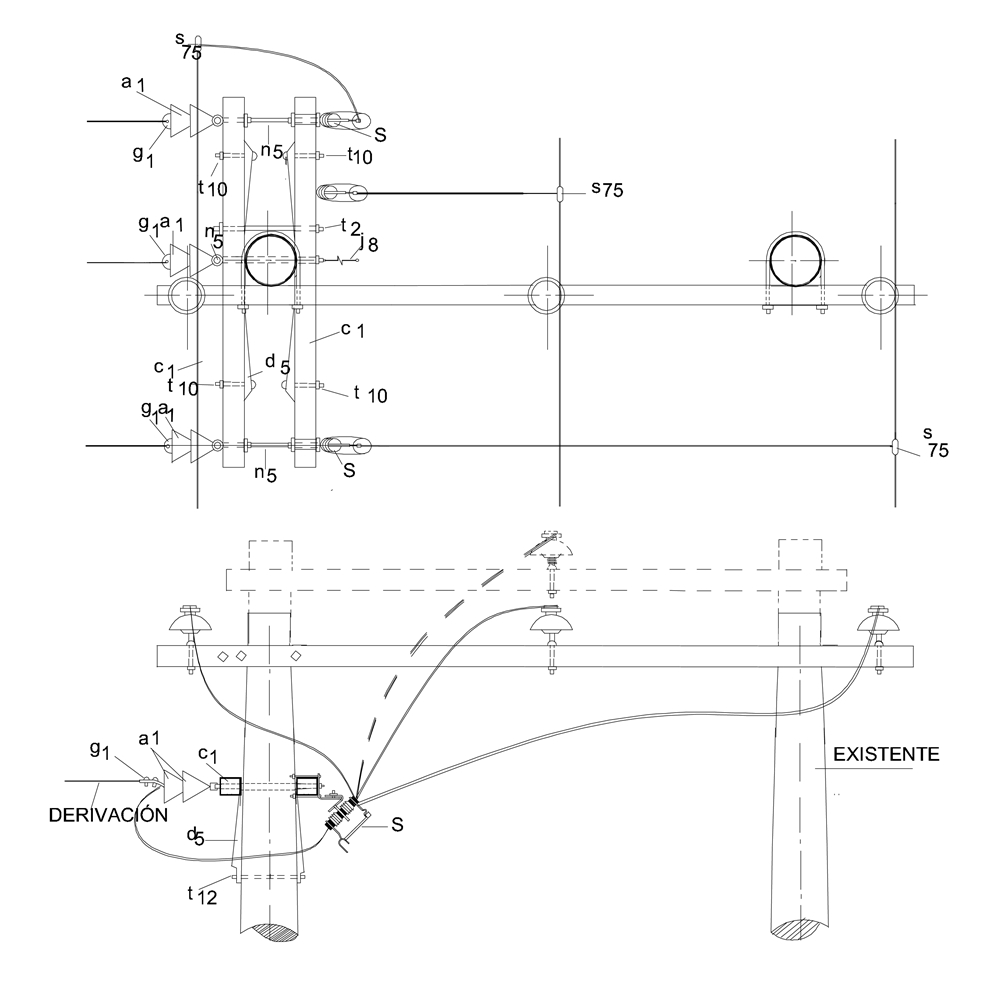
LAR277 Línea rural 13, 2 – 11,4 kV derivación trifásica en H
- Contenido

LISTA DE MATERIALES
| SÍMB. | CANT. | CÓDIGO | ESP. TÉCNICA | DESCRIPCIÓN |
| a 1 | 6 | 300013 | GSCC010 | Aislador Suspensión Compuesto 24 kV |
| c 4 | 2 | 251506 | ET419 | Cruceta metálica de 2,5 m |
| d 5 | 4 | 6762474 | ET405 | Diagonal metálica en varilla tipo 2 |
| g 1 | 3 | 6762180 | ET350 | Grapa terminal tipo recto para cables entre 3/0 AWG – 266,8 kcmil |
| j 8 | 1 | Templete (1) | ||
| n 5 | 3 | 6762181 | ET461 | Perno de ojo tipo 5 |
| S | 3 | 140991 | E-MT-001 | Cortacircuito de cañuela de 15 kV 100 A (2) |
| s 75 | 3 | ET356 | Conector tipo cuña 4/0 – 2/0 AWG (3) | |
| t 10 | 4 | 6762213 | ET457 | Tornillo de acero galvanizado de 5/8” x 5” |
| t 2 | 2 | 6762255 | ET455 | Espárrago de 5/8” x 20” |
| t 5 | 1 | 6762212 | ET456 | Tornillo de carruaje 5/8” x 1 ½” |
| z 12 | 1 | 6762204 | ET432 | Abrazadera de dos salidas tipo 2 |
ALTERNATIVAS:
(1) Según se requiera LAR 412 , LAR 413 y LAR 414
(2) Para fusibles ver E-MT-001 de protección primaria de transformadores de distribución
(3) El conector que aparece en la lista es una referencia, consultar ET356 para su utilización
NOTA:
- Si la construcción es nueva incluir materiales de la norma que aparece como existente
DATOS ADICIONALES
Revisión #
2
Fecha de entrada en vigencia
Actividad de los usuarios
Para hacer comentarios debe iniciar sesión o registrarse aquí