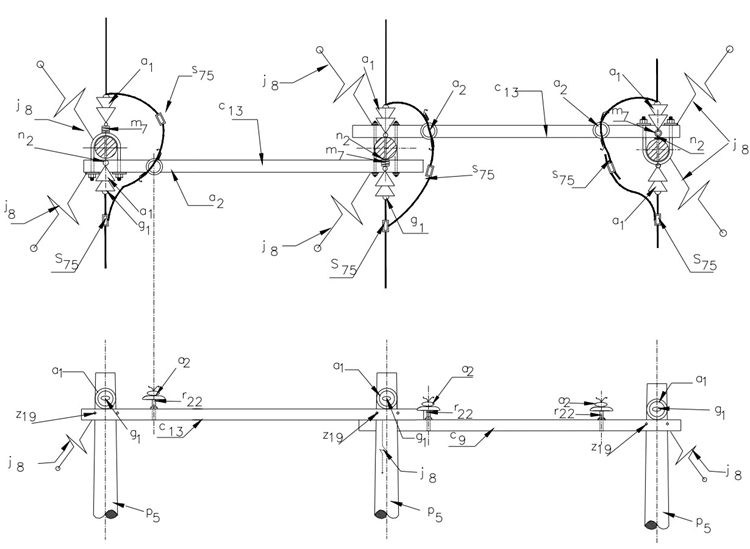
LAR274 Línea rural 13,2 – 11,4 kV estructura de retención horizontal en tres postes con cruceta de seis metros
- Contenido

LISTA DE MATERIALES
| SÍMB. | CANT. | CÓDIGO SAP | ESP.TÉCNICA | DESCRIPCIÓN |
| a 1 | 12 | 6762327 | ET-252 | Aislador de suspensión ANSI 52-1 |
| a 2 | 3 | 6762360 | ET-253 | Aislador de pin ANSI 55-5 |
| c 13 | 2 | 230964 | ET419 | Cruceta de madera rolliza inmunizada de 6,0 m |
| g 0 | 6 | 6762316 | ET350 | Grapa terminal tipo recto para cables entre 3/0 AWG – 266,8 kcmil |
| j 8 | 6 | Templete (1) | ||
| m 7 | 3 | 6762209 | ET454 | Tuerca de ojo alargado |
| n 2 | 3 | 6764363 | ET461 | Perno de ojo tipo 2 ( 5/8” x 254 mm ) |
| p 5 | 3 | 6762452 | ET201 | Poste de concreto de 12 m , 750 kg (2) |
| r 22 | 3 | 6763195 | ET415 | Porta aislador goloso para cruceta de madera rolliza |
| s 75 | 3 | 274320 | ET-356 | Conector cuña p=95 d=70mm2 o 4/0-2/0awg (3) |
| z 19 | 4 | 6762174 | ET436 | Abrazadera en U tipo 1 |
ALTERNATIVAS:
(1) Según se requiera LAR 412 , LAR 413 y LAR 414
(2) Postes de madera de 12 m tipo pesado
(3) El conector que aparece en la lista es una referencia, consultar la ET-356 para su selección adecuada y la Norma LA 011 de utilización de conectores en líneas Aéreas de 11,4 kV, 13,2 kV y 34,5 Kv.
NOTAS DE UTILIZACIÓN.
- Vano viento máximo 1 100 m
- Vano peso máximo 2 000 m
- Ángulo máximo de deflexión 45°
- Ver disposición horizontal de templetes en LAR 411 .
ASPECTOS DE AISLAMIENTO:
- Utilización en terreno tipo A.
- Utilización en terreno tipo B y nivel ceráunico máximo 70.
- Para utilizar en otras condiciones aplicar métodos de apantallamiento LAR 450 .
| TEMPLETES | ||
| CONDUCTOR | UBICACIÓN (NIVEL) | ÁNGULO DE INCLINACIÓN CON LA VERTICAL EN (°) |
| 4/0 AWG | Fases | 35 |
| <= 2/0 AWG | Fases | 30 |
DATOS ADICIONALES
Revisión #
2
Fecha de entrada en vigencia
Actividad de los usuarios
Para hacer comentarios debe iniciar sesión o registrarse aquí