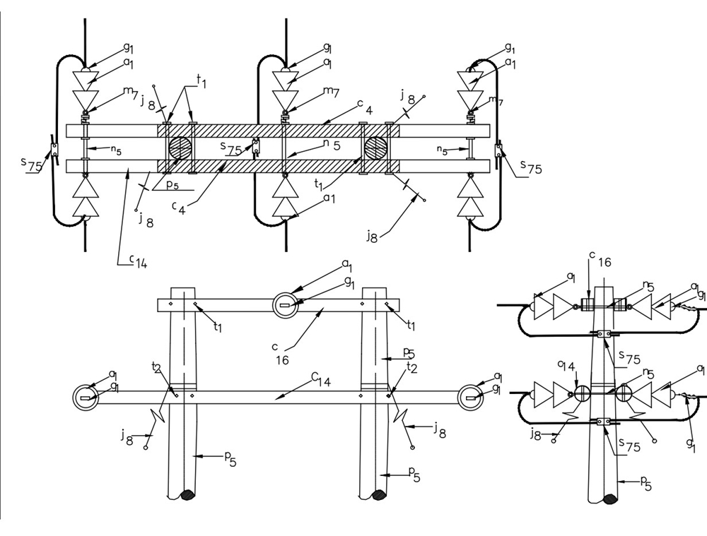
LAR233 Línea rural 13,2 – 11,4 kV estructura de retención triangular en H
- Contenido

LISTA DE MATERIALES
| SÍMB. | CANT. | CÓDIGO | ESP. TÉCNICA | DESCRIPCIÓN |
| a 1 | 12 | 300013 | GSCC010 | Aislador Suspensión Compuesto 24 kV |
| c 14 | 2 | 230964 | ET419 | Cruceta de madera limatón inmunizada de 4,0 m |
| c 4 | 2 | 6762481 | ET419 | Cruceta de madera inmunizada de 2,5 m |
| g 1 | 6 | 6762180 | ET-350 | Grapa terminal tipo recto |
| j 8 | 4 | Templete (1) | ||
| m 7 | 3 | 6762209 | ET-454 | Tuerca de ojo alargado |
| n 5 | 3 | 6762181 | ET-461 | Perno de ojo tipo 5 ( 5/8” x 544 mm) |
| p 5 | 2 | 230957 | GSS002 | Poste de concreto de 12 m 750 kg (2) |
| s 75 | 3 | 274320 | ET-356 | Conector cuña p=95 d=70mm2 o 4/0-2/0awg (3) |
| t 1 | 4 | 6762183 | ET-455 | Espárrago de 5/8” x 18” |
| t 2 | 4 | 6762255 | ET-455 | Espárrago de 5/8” x 20” |
ALTERNATIVAS:
(1) Según se requiera LAR 412 , LAR 413 , LAR 414 y LAR 415 .
(2) Poste de concreto de 12 m tipo pesado.
(3) El conector que aparece en la lista es una referencia, consultar la ET-356 para su selección adecuada y la Norma LA 011 de utilización de conectores en líneas Aéreas de 11,4 kV, 13,2 kV y 34,5 Kv.
NOTAS DE UTILIZACIÓN.
- Vano peso máximo 1 000 m
- Vano viento máximo 400 m
- Ángulo máximo de deflexión 45°
- Para conductor 4/0 AWG usar poste de concreto de 12 m , 1 050 kg ó poste de madera tipo extrapesado.
- Ver disposición horizontal de templetes en LAR 411 .
| CONDUCTOR | TEMPLETES | |
| UBICACIÓN ( NIVEL) | ÁNGULO DE INCLINACIÓN CON LA VERTICAL EN (°) | |
| 4/0 AWG | Fases inferiores | 35 |
| <= 2/0 AWG | Fases inferiores | 30 |
DATOS ADICIONALES
Revisión #
3
Fecha de entrada en vigencia
Actividad de los usuarios
Para hacer comentarios debe iniciar sesión o registrarse aquí