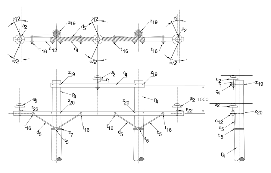
LAR232 Línea rural 13,2 – 11,4 kV estructura en H disposición triangular
- Contenido

LISTA DE MATERIALES
| SÍMB. | CANT. | CÓDIGO | ESP. TÉCNICA | DESCRIPCIÓN |
| a 2 | 3 | 300527 | E-MT-011 | Aislador de Pín ANSI 55-5 |
| c 12 | 1 | 251508 | ET419 | Cruceta metálica de 4,0 m |
| c 4 | 1 | 251506 | ET419 | Cruceta metálica de 2,5 m |
| d 5 | 4 | 6762474 | ET-405 | Diagonal metálica en varilla tipo 2 (1) |
| p 4 | 2 | 230956 | GSS002 | Poste de concreto de 12 m , 510 kg (2) |
| r 1 | 1 | 201073 | ET414 | Porta aislador para cruceta metálica MT 34.5 kV |
| r 22 | 2 | 6763195 | ET-415 | Porta aislador goloso para cruceta de madera rolliza |
| t 5 | 2 | 6762212 | ET-456 | Tornillo carruaje tipo 5 (1) |
| t 16 | 4 | 6764023 | ET-457 | Tornillo de acero galvanizado ½” x 8” |
| z 7 | 2 | 6762235 | ET-431 | Abrazadera de una salida tipo 2 |
| z 19 | 2 | 6762174 | ET-436 | Abrazadera en U tipo 1 |
| z 20 | 2 | 6762202 | ET-436 | Abrazadera en U tipo 2 (1) |
ALTERNATIVAS:
(1) Solo cuando se utilice conductor 4/0 AWG.
(2) Dos postes de concreto de 12 m tipo liviano.
ASPECTOS DE AISLAMIENTO:
- Utilización en terreno tipo A y B.
- Utilización en terreno tipo C y nivel ceráunico máximo de 70
- Para utilización en otras condiciones aplicar métodos de apantallamiento LAR 450
CURVAS DE UTILIZACIÓN
NOTAS DE UTILIZACIÓN:
- Vano peso máximo 1 000 m
- Máxima relación de vanos adyacentes 2,5
- Para conductor 4/0 AWG usar poste de concreto de 750 kg o poste madera tipo pesado.
DATOS ADICIONALES
Revisión #
2
Fecha de entrada en vigencia
Actividad de los usuarios
Para hacer comentarios debe iniciar sesión o registrarse aquí