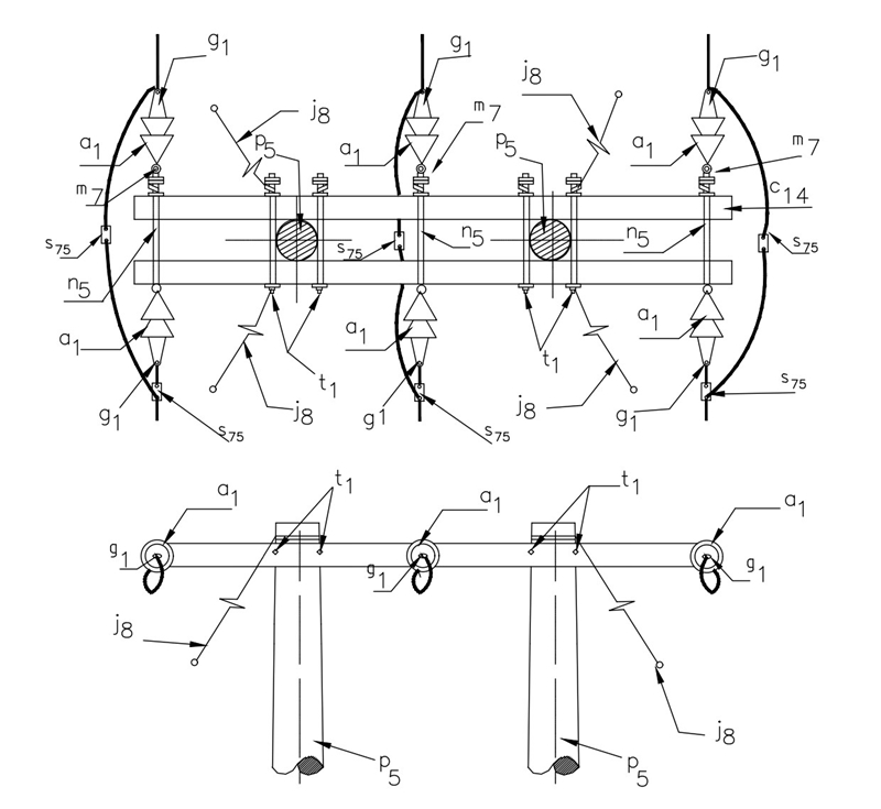
LAR223 Linea rural 13,2 - 11,4 kV estructura de retención horizontal en H
- Contenido

LISTA DE MATERIALES
| SÍMB. | CANT. | CÓDIGO SAP | ESP. TÉCNICA | DESCRIPCIÓN |
| a 1 | 12 | 300013 | GSCC010 | Aislador de suspensión ANSI 52-1 |
| c 14 | 2 | 251508 | ET419 | Cruceta metálica de 4,0 m |
| g 1 | 6 | 6762180 | ET-351 | Grapa terminal tipo recto (3) |
| j 8 | 4 | Templete (2) | ||
| m 7 | 3 | 6762209 | ET-454 | Tuerca de ojo alargado |
| n 5 | 3 | 6762181 | ET-461 | Perno de ojo tipo 5 de 5/8” x 545 mm |
| p 5 | 2 | 6762452 | ET-201 | Poste de concreto de 12 m , 750 kg (1) |
| s 75 | 3 | 274320 | ET-356 | Conector cuña p=95 d=70mm2 o 4/0-2/0awg (4) |
| t 1 | 4 | 6762183 | ET-455 | Espárrago de 5/8” x 18” |
ALTERNATIVAS:
(1) Dos postes de concreto de 12 m tipo pesado.
(2) Según se requiera LAR 412 , LAR 413 y LAR 414
(3) Para conductor 6 AWG – 3/0 AWG, usar grapa tipo recto g 0
(4) El conector que aparece en la lista es una referencia, consultar la ET-356 para su selección adecuada y la Norma LA 011 de utilización de conectores en líneas Aéreas de 11,4 kV, 13,2 kV y 34,5 Kv.
NOTAS DE UTILIZACIÓN
- Vano viento máximo 400 m
- Vano peso máximo 1000 m
- Ángulo máximo de deflexión 45 °
- Ver disposición horizontal de templetes en LAR 411
| CONDUCTOR | TEMPLETES | |
| UBICACIÓN ( NIVEL ) | ÁNGULO DE INCLINACIÓN CON LA VERTICAL EN (°) | |
| 4/0 AWG | Fases | 35 |
| <= 2/0 AWG | Fases | 30 |
DATOS ADICIONALES
Revisión #
2
Fecha de entrada en vigencia
Actividad de los usuarios
Para hacer comentarios debe iniciar sesión o registrarse aquí