Pasar al contenido principal
Navegación principal
HOME
NORMAS TÉCNICAS
ESPECIFICACIONES TÉCNICAS LOCALES
ESPECIFICACIONES TÉCNICAS CORPORATIVAS
CONTACTO
Menú de cuenta de usuario
Iniciar sesión
Sobrescribir enlaces de ayuda a la navegación
Inicio
Normas Técnicas
CENTROS DE TRANSFORMACIÓN PARA REDES SUBTERRÁNEOS
Generalidades Centros De Transformación Subterráneos (CTS)
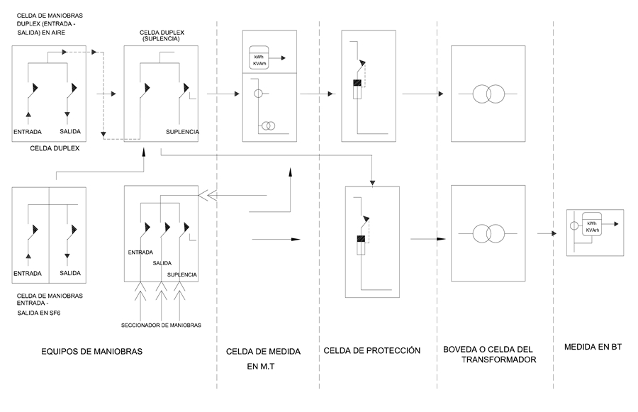
FIG 5.4 Configuración Centros De Transformación Capsulado Tipo Industrial Con Circuito De Suplencia (Nivel 2)
FIG 5.4 Configuración centros de transformación capsulado tipo industrial con circuito de suplencia (Nivel 2)
Contenido
DATOS ADICIONALES
Revisión #
FIG 5.4
Fecha de entrada en vigencia
03 Octubre 2002
HERRAMIENTAS
Descargar archivo
RELACIONADAS
Actividad de los usuarios
Para hacer comentarios debe
iniciar sesión
o registrarse
aquí
Estado del comentario
X
×
Actividad de los usuarios
Para hacer comentarios debe iniciar sesión o registrarse aquí