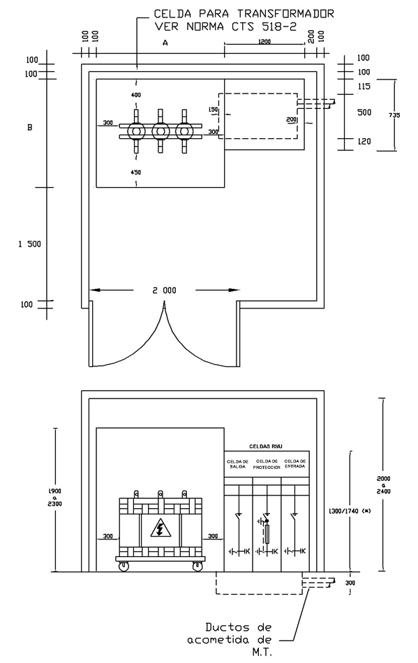
CTS519-9 Centro de transformación subterráneo. Disposición con celda RMU en SF6 y transformador seco (Nivel 2)
- Contenido
NOTAS:
1. Dimensiones en milímetros.
2. Celda SF6 del tipo Ring Main Unit (RMU) con dos funciones de línea (E/S) más una función de protección con fusibles.
3. El local tendrá las medidas de la celda triplex en aire para intercambiar equipos.
4. Altura de la celda (*) cuando no se dispone de cárcamo y posee base propia.
5. Para los diseños, uso e instalación en la infraestructura eléctrica de uso general de ENEL-Enel Colombia sólo se permite la utilización de Transformadores en aceite.
6. Para proyectos nuevos de la red de uso general de Enel Colombia las celdas deben cumplir con las especificaciones GSM001 MV RMU WITH SWITCH-DISCONNECTOR y GSCM004 MV
DATOS ADICIONALES
Revisión #
4
Fecha de entrada en vigencia
Actividad de los usuarios
Para hacer comentarios debe iniciar sesión o registrarse aquí